Curiosii for ever!: Car repair manuals for everyone.

Fluid Passages




Fluid Passages

Torque Converter Housing - Fluid Pump Cover Side




2 - Line
4 - Converter Feed
5 - Converter Feed Limit
6 - TCC Release
7 - TCC Apply
8 - Cooler Feed
9 - Center Lube
10 - Regulator Apply
38 - PCS TCC
49 - PCS Line
51 - Exhaust
52 - Void
55 - Vent
56 - Torque Converter Seal Drainback

Fluid Pump Cover - Torque Converter Housing Side




1 - Suction
2 - Line
4 - Converter Feed
5 - Converter Feed Limit
6 - TCC Release
7 - TCC Apply
8 - Cooler Feed
9 - Center Lube
10 - Regulator Apply
38 - PCS TCC
49 - PCS Line
51 - Exhaust
52 - Void
55 - Vent

Fluid Pump Cover - Case Side




1 - Suction
2 - Line
9 - Center Lube
10 - Regulator Apply
11 - Compensator Feed
14 - 3-5 Reverse Clutch
26 - 1-2-3-4 Clutch
34 - 4-5-6 Clutch
38 - PCS TCC
49 - PSC Line
51 - Exhaust
52 - Empty
55 - Ventilate

Case - Top Channel Plate Side




9 - Center Lube
29 - CBR1
30 - CBR
46 - 26 Clutch
52 - Void

Control Valve Upper Body Assembly - Case Side




2 - Line
9 - Center Lube
10 - Regulator Apply
11 - Compensator Feed
14 - 3-5 Reverse Clutch
26 - 1-2-3-4 Clutch
29 - CBR1
30 - CBR
34 - 4-5-6 Clutch
38 - PCS TCC
46 - 2-6 Clutch
49 - PCS Line
51 - Exhaust
52 - Empty

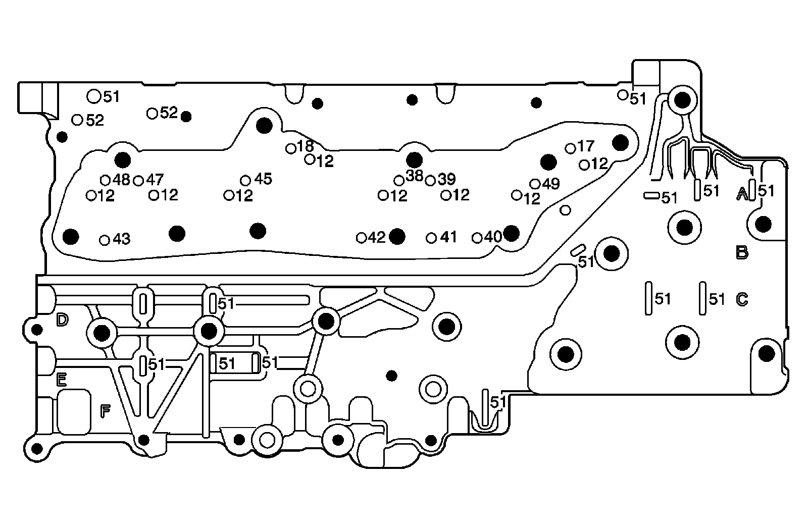
Control Valve Upper Body Assembly - Bottom Channel Plate Side




2 - Line
9 - Center Lube
10 - Regulator Apply
11 - Compensator Feed
12 - Actuator Feed Limit
13 - Reverse
14 - 3-5 Reverse Clutch
15 - 3-5 Reverse Clutch Feedback
16 - CSV2 Enable
17 - Solenoid 1
19 - CSV3 Enable
21 - Drive 1-6
24 - 1-2-3-4 Clutch DFLT
25 - 1-2-3-4 Clutch Feed
26 - 1-2-3-4 Clutch
27 - 1-2-3-4 Clutch Feedback
29 - CBR1
30 - CBR
31 - CBR1/4-5-6 Clutch Feed
32 - CBR1 Feedback
34 - 4-5-6 Clutch
35 - CSV2 Latch
37 - 3-5 Reverse Feed
38 - PCS TCC
39 - PCS 1-2-3-4 Clutch
40 - PS4
41 - PS1
42 - PS3
43 - PS5
44 - 2-6 Clutch/1-2-3-4CL Feed
45 - PCS 3-5 Rev Clutch
46 - 2-6 Clutch
47 - PCS 2-6 Clutch
48 - PCS CBR1/4-5-6 Clutch
49 - PCS Line
50 - Exhaust BF
51 - Exhaust
52 - Empty
53 - 3-5 Rear Feed

Control Valve Upper Body Assembly - Control Solenoid Valve Assembly Side




12 - Actuator Feed Limit
17 - Solenoid 1
18 - Solenoid 2
38 - PCS TCC
39 - PCS 1-2-3-4 Clutch
40 - PS4
41 - PS1
42 - PS3
43 - PS5
45 - PCS 3-5 Rev Clutch
47 - PCS 2-6 Clutch
48 - PCS CBR1/4-5-6 Clutch
49 - PCS Line
51 - Exhaust
52 - Empty

Control Valve Lower Body Assembly - Control Valve Upper Body Assembly Side




2 - Line
9 - Center Lube
10 - Regulator Apply
11 - Compensator Feed
12 - Actuator Feed Limit
13 - Reverse
14 - 3-5 Reverse Clutch
15 - 3-5 Reverse Clutch Feedback
16 - CSV2 Enable
17 - Solenoid 1
18 - Solenoid 2
19 - CSV3 Enable
20 - Drive
21 - Drive 1-6
22 - Drive Brake
23 - 1-2-3-4 Clutch DFLT Feed
24 - 1-2-3-4 Clutch DFLT
25 - 1-2-3-4 Clutch Feed
26 - 1-2-3-4 Clutch
27 - 1-2-3-4 Clutch Feedback
28 - CBR1/CBR Feed
29 - CBR1
30 - CBR
31 - CBR1/4-5-6 Clutch Feed
32 - CBR1 Feedback
33 - 4-5-6 Clutch Feed
34 - 4-5-6 Clutch
35 - CSV2 Latch
36 - Drive Brake
37 - 3-5 Reverse Feed
38 - PCS TCC
39 - PCS 1-2-3-4 Clutch
40 - PS4
41 - PS1
42 - PS3
43 - PS5
44 - 2-6 Clutch/1-2-3-4 CL Feed
45 - PCS 3-5 Rev Clutch
46 - 2-6 Clutch
47 - PCS 2-6 Clutch
48 - PCS CBR1/4-5-6 Clutch
49 - PSC Line
50 - Exhaust BF
51 - Exhaust
52 - Empty
54 - 3-5 Clutch Reverse Feed

Control Valve Body Spacer Plate Assembly - Bottom Channel Plate Side




2 - Line
8 - Cooler Feed
9 - Center Lube
10 - Regulator Apply
11 - Compensator Feed
12 - Actuator Feed Limit
13 - Reverse
14 - 3-5 Reverse Clutch
15 - 3-5 Reverse Clutch Feedback
16 - CSV2 Enable
17 - Solenoid 1
18 - Solenoid 2
19 - CSV3 Enable
21 - Drive 1-6
24 - 1-2-3-4 Clutch DFLT
25 - 1-2-3-4 Clutch Feed
26 - 1-2-3-4 Clutch
27 - 1-2-3-4 Clutch Feedback
28 - CBR1/CBR Feed
29 - CBR1
30 - CBR
31 - CBR1/4-5-6 Clutch Feed
32 - CBR1 Feedback
34 - 4-5-6 Clutch
35 - CSV2 Latch
36 - Drive Brake
37 - 3-5 Reverse Feed
38 - PCS TCC
39 - PCS 1-2-3-4 Clutch
40 - PS4
41 - PS1
42 - PS3
43 - PS5
44 - 2-6 Clutch/1-2-3-4 CL Feed
45 - PCS 3-5 Rev Clutch
46 - 2-6 Clutch
47 - PCS 2-6 Clutch
48 - PCS CBR1/4-5-6 Clutch
49 - PCS Line
50 - Exhaust BF
51 - Exhaust
53 - 3-5 Rear Feed
54 - 3-5 Clutch Reverse Feed