Curiosii for ever!: Car repair manuals for everyone.

Timing Belt: Service and Repair



Timing Belt Replacement

Special Tools

* J 28467-B - Engine Support Fixture
* KM-6625 - Flywheel Locking Device
* KM-6333 - Fixing Rod
* KM-6340 - Locking Tool
* KM-6628 - Locking Tool

Removal Procedure

Warning: Refer to Battery Disconnect Warning (Battery Disconnect Warning).

1. Disconnect the battery negative cable. Refer to Battery Negative Cable Disconnection and Connection (Service and Repair).
2. Remove the air cleaner assembly. Refer to Air Cleaner Assembly Replacement (Service and Repair).
3. Install J 28467-B - Engine Support Fixture.
4. Remove the accessory belt. Refer to Drive Belt Replacement (Drive Belt Replacement).
5. Remove the accessory belt tensioner. Refer to Drive Belt Tensioner Replacement (Service and Repair).




6. Rotate the crankshaft pulley clockwise to align the notches (1) between the pulley and the cover.





7. Remove the transmission bolt (1).
8. Install KM-6625 locking device to prevent the crankshaft from rotating.
9. Install the transmission bolt (1).
10. Remove the cylinder head cover. Refer to Valve Rocker Arm Cover Replacement (Service and Repair).
11. Remove the engine mount. Refer to Engine Mount Replacement (Service and Repair).





12. Remove the crankshaft pulley (2).
13. Remove the timing belt upper cover (1).
14. Remove the engine mount bracket.
15. Remove the timing belt lower cover (3).
16. Remove the timing belt center cover.





17. Install KM-6333 rod while rotating the timing belt tensioner to hold it in place.
18. Remove the timing belt.





19. Remove and DISCARD the timing tensioner bolt and remove the timing belt tensioner (1).
20. Remove and DISCARD the timing belt idler bolt and remove the timing belt idler (2).

Adjustment Procedure




1. Align the both camshaft horizontally to install KM-6628 locking tool.
2. Confirm the both camshaft sprocket spot aligned.





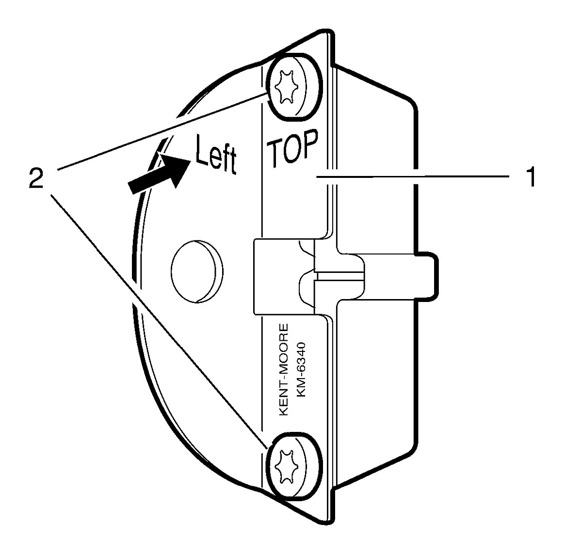
3. Prepare the left half of KM-6340 locking tool.

Note: Recognizable from the lettering "LEFT"

4. Unscrew the bolts (2) and detach the front panel (1) from MK-6628 locking tool.





Note: The mark (4) on the intake camshaft sprocket does not correspond to the groove of KM-6628 locking tool during this process but must be somewhat as shown.

5. Confirm aligning between the intake side mark (4) and the exhaust side mark (3) on the camshaft sprockets.
6. If not aligned as shown, remove and install the camshaft sprocket to align.
7. Insert the left of KM-6340 locking tool (1) into the intake camshaft sprocket side.
8. Insert the right of KM-6340 locking tool (2) into the exhaust camshaft sprocket side.





Note: If the notches are not aligned, rotate the crankshaft until marks are aligned after removing KM-6625 locking device.

9. Confirm alignment of the notches between the crankshaft sprocket and the cover.





Caution: Refer to Fastener Caution (Fastener Caution).

10. Install the timing belt idler (2) and tighten the NEW bolt to 25 Nm (18 lb ft).
11. Install the timing belt tensioner (1) and tighten the NEW bolt to 20 Nm (15 lb ft).




12. Install the timing belt.
13. Remove KM-6333 fixing rod to tension the belt.

Installation Procedure




1. Install the timing belt center cover.

Caution: Refer to Fastener Caution (Fastener Caution).

2. Install the timing belt lower cover (3) and tighten the bolts to 6 Nm (53.1 lb in).
3. Install the engine mount bracket and tighten the bolt to 65 Nm (47.9 lb ft).
4. Install the timing belt upper cover (1) and tighten the bolts to 4 Nm (35.4 lb ft).
5. Install the crankshaft pulley (2) with aligning crankshaft pulley notches and tighten to 95 Nm + 45° + 15° (70 lb ft + 45° + 15°).
6. Install the engine mount. Refer to Engine Mount Replacement (Service and Repair)
7. Install the cylinder head cover. Refer to Engine Mount Replacement (Service and Repair).
8. Install the accessory belt. Refer to Drive Belt Tensioner Replacement (Service and Repair).
9. Install the accessory belt tensioner. Refer to Drive Belt Replacement (Drive Belt Replacement).




10. Remove the transmission bolt (1).
11. Remove KM-6625 locking device from the crankshaft.
12. Install the transmission bolt (1) and tighten to 60 Nm (44.2 lb ft).
13. Remove J 28647-B - Engine Support Fixture.
14. Install the air cleaner assembly. Refer to Air Cleaner Assembly Replacement (Service and Repair).
15. Connect the battery negative cable. Refer to Battery Negative Cable Disconnection and Connection (Service and Repair).