Curiosii for ever!
: Car repair manuals for everyone.
Home
>>
Chevrolet
>>
2008
>>
Malibu L4-2.4L Hybrid
>>
Repair and Diagnosis
>>
Hybrid Drive Systems
>>
Battery System, Hybrid Drive
>>
Service and Repair
>>
Removal and Replacement
>>
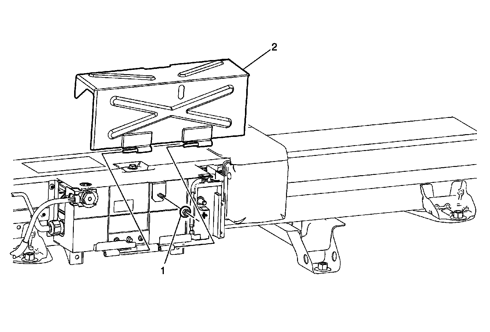
Generator Battery Disconnect Control Module Cover Replacement
Generator Battery Disconnect Control Module Cover Replacement
Generator Battery Disconnect Control Module Cover Replacement