Curiosii for ever!: Car repair manuals for everyone.

Mirror Replacement



Mirror Replacement

Removal Procedure




1. Remove the front door trim panel.
2. Remove the trim cover.
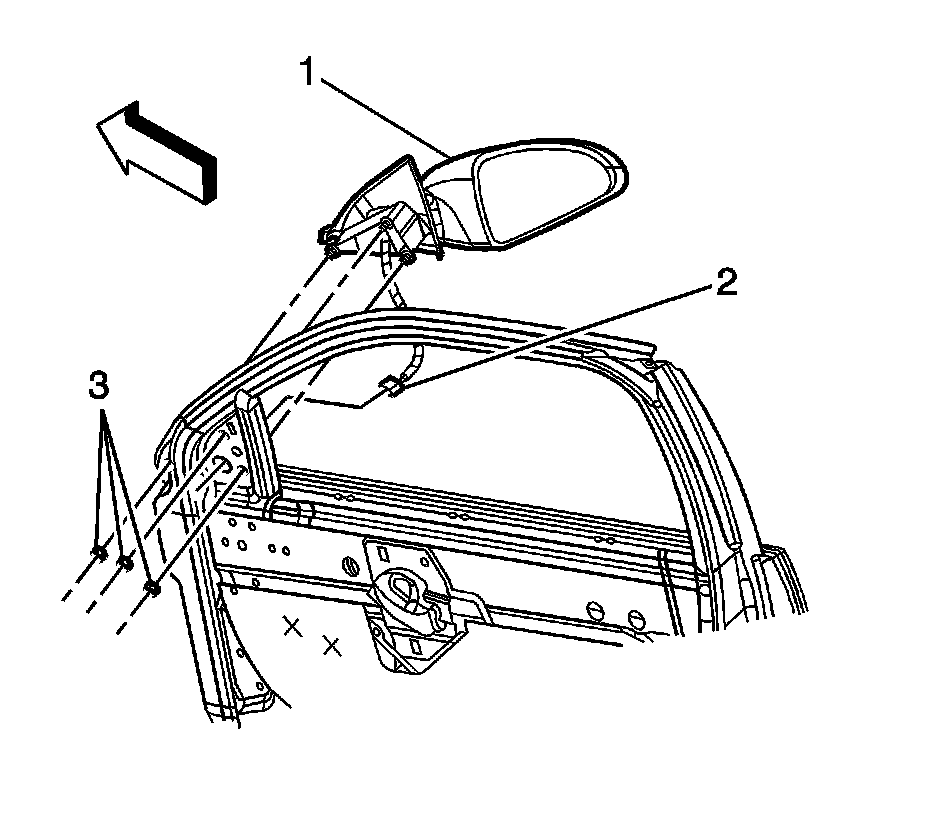
3. Disconnect the electrical connectors (1).
4. Remove the nuts from the mirror (2).
5. Remove the mirror from the front door (3).

Installation Procedure




1. Position the mirror to the front door (3).

Notice: Refer to Fastener Notice.

2. Install the nuts to the mirror, starting at the lower left nut (2).

Tighten the outside mirror nuts to 10 N.m (89 lb in).

3. Connect the electrical connectors (1).
4. Install the trim cover.
5. Install the front door trim panel.