Curiosii for ever!: Car repair manuals for everyone.

Pressure Regulating Solenoid: Service and Repair



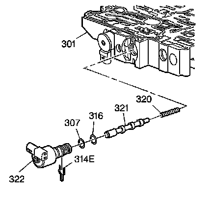
Pressure Control Solenoid Replacement

Removal Procedure

1. Remove the case side cover.
2. Disconnect the pressure control solenoid (PCS) electrical connector.
3. Remove the PCS retaining clip (314E).




4. Remove the PCS (322).

Installation Procedure




1. Install the PCS (322).
2. Install the PCS retaining clip (314E).
3. Connect the PCS electrical connector.
4. Install the case side cover.

Important: It is recommended that transmission adaptive pressure (TAP) information be reset.

Resetting the TAP values using a scan tool will erase all learned values in all cells. As a result, The ECM, PCM or TCM will need to relearn TAP values. Transmission performance may be affected as new TAP values are learned.

5. Reset the TAP values. Refer to Transmission Adaptive Functions.