Curiosii for ever!: Car repair manuals for everyone.

Lighting and Horns: Locations



Lighting Systems Component Views

Front of the Vehicle




1 - Marker Lamp - RF
2 - Headlamp - Low Beam - Right
3 - Headlamp - High Beam - Right
4 - Park/Turn Signal Lamp - RF
5 - Park/Turn Signal Lamp - LF
6 - Headlamp - High Beam - Left
7 - Headlamp - Low Beam - Left
8 - Marker Lamp - LF
9 - Fog Lamp - LF
10 - Front Fascia
11 - Fog Lamp - RF

Left Side of the Right Headlamp Assembly (9C1, 9C3)




1 - Headlamp Flasher Module (6J7)

Base of A-Pillars (9C1, 9C3)




1 - Spot Lamp - Left (7X6, 7X7)
2 - Spot Lamp - Right (7X7)

Forward Headliner (9C1, 9C3)




1 - Reading lamp Assembly

I/P Components




1 - Headlamp Switch
2 - Instrument Panel Cluster (IPC)
3 - Inflatable Restraint Steering Wheel Module Coil
4 - Driver Information Center (DIC) Switch
5 - Ambient Light Sensor
6 - Inflatable Restraint Passenger Air Bag On/Off Indicator (Sedan w/o 9C1, 9C3)
7 - Radio
8 - Inflatable Restraint I/P Module
9 - I/P Trim Panel
10 - Heated Seat Switch - Passenger (KA1)
11 - HVAC Control Module
12 - Heated Seat Switch - Driver (KA1)
13 - Turn Signal/Multifunction Switch

In Left Front Footwell




1 - I/P Courtesy Lamp - Left

In Right Front Footwell




1 - I/P Courtesy Lamp - Right

Pedal Assemblies




1 - Park Brake Switch
2 - Dash Panel
3 - Brake Pedal Position Sensor
4 - Accelerator Pedal Position (APP) Sensor

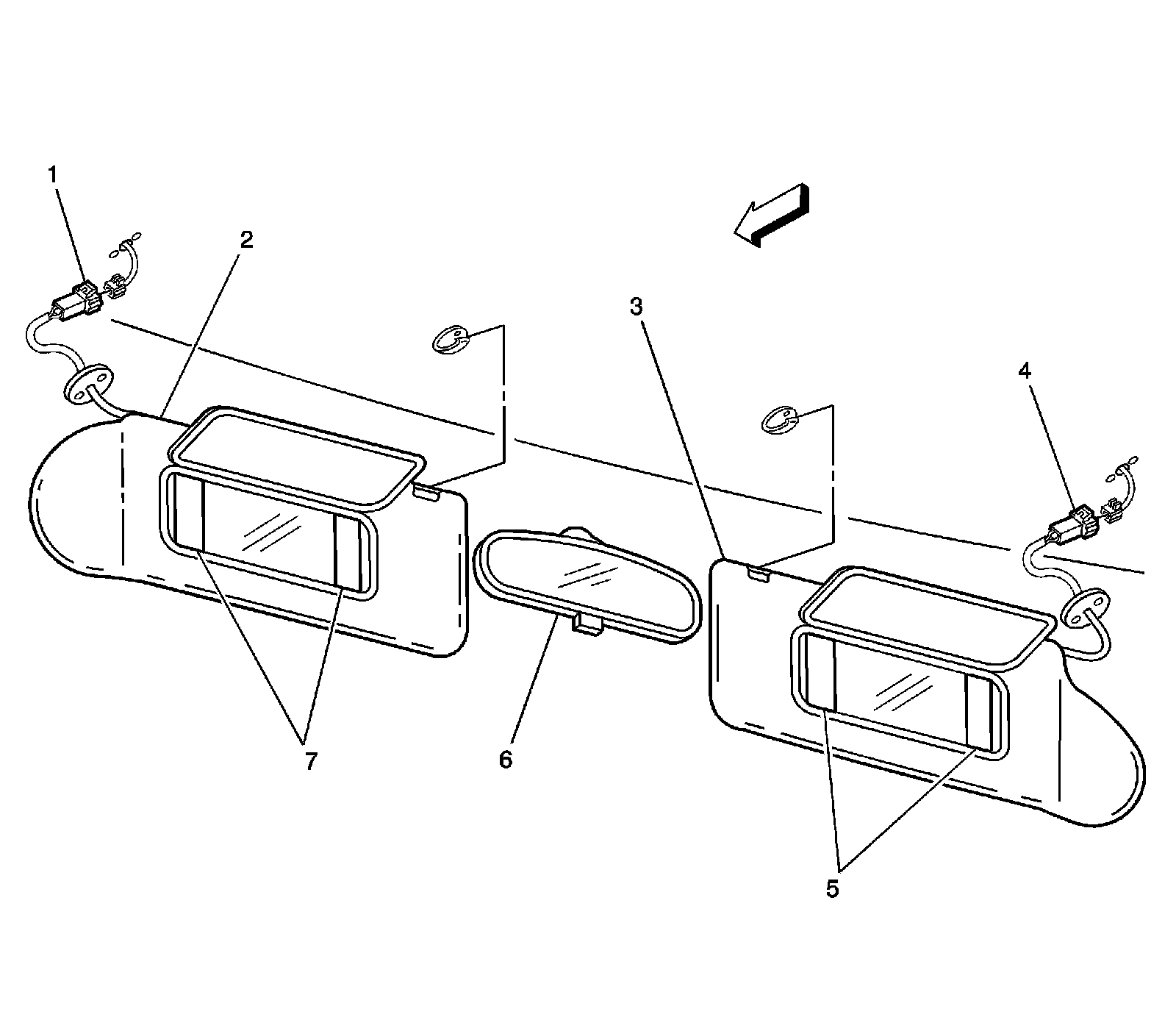
Above Front Windshield




1 - Vanity Mirror Lamp - Left Connector
2 - Left Sunshade
3 - Right Sunshade
4 - Vanity Mirror Lamp - Right Connector
5 - Vanity Mirror Lamp - Right
6 - Inside Rearview Mirror
7 - Vanity Mirror Lamp - Left

Headliner Components (Sedan)




1 - Headliner
2 - Dome/Reading Lamp
3 - Garage Door Opener (UG1)
4 - Sunroof Switch (CF5)

Headliner Components (Coupe)




1 - Dome Lamp
2 - Vanity Mirror Lamp - Right (DH6)
3 - Garage Door Opener (UG1)
4 - Sunroof Switch (CF5)
5 - Inflatable Restraint Passenger Air Bag On/Off Indicator
6 - Vanity Mirror Lamp - Left (DH6)

On Package Shelf (9C1, 9C3)




1 - Emergency Vehicle Rear Window Panel Lamp - Left (9C1, 9C3)
2 - Emergency Vehicle Rear Window Panel Lamp - Right (9C1, 9C3)

Under Rear Package Shelf




1 - Speaker - LR
2 - Audio Amplifier
3 - Rear Compartment Courtesy Lamp
4 - Speaker - RR

Right Front of Rear Compartment (w/ T53)




1 - C409
2 - Emergency Vehicle Rear Compartment Lid Lamps Relay

Rear Compartment Lid (9C1, 9C3)




1 - Emergency Vehicle Rear Compartment Lid Lamp - Left (T53)
2 - Emergency Vehicle Rear Compartment Lid Lamp - Right (T53)

Rear of the Vehicle (Sedan)




1 - Rear Window Defogger Grid
2 - Radio Rear Window Antenna
3 - Tail/Stop and Turn Signal Lamp - Right
4 - Tail Lamp - Right
5 - Backup Lamp - Right
6 - License Lamp
7 - Center High Mounted Stop Lamp (CHMSL)
8 - Backup Lamp - Left
9 - Tail Lamp - Left
10 - Tail/Stop and Turn Signal Lamp - Left

Rear of the Vehicle (Coupe)




1 - Center High Mounted Stop Lamp (CHMSL)
2 - Radio Rear Window Antenna
3 - Rear Window Defogger Grid
4 - Tail Lamp - Right
5 - Marker Lamp - RR
6 - Tail/Stop and Turn Signal Lamp - Left
7 - Backup Lamp - Right
8 - License Lamp
9 - Backup Lamp - Left
10 - Tail/Stop and Turn Signal Lamp - Right
11 - Marker Lamp - LR
12 - Tail Lamp - Left