Curiosii for ever!: Car repair manuals for everyone.

Control Valve Body Replacement



Control Valve Body Replacement

Tools Required

J 36850 Transjel Lubricant

Removal Procedure

1. Remove the case side cover.
2. Remove the oil pump.




3. Remove the valve body bolts (374-381,384).




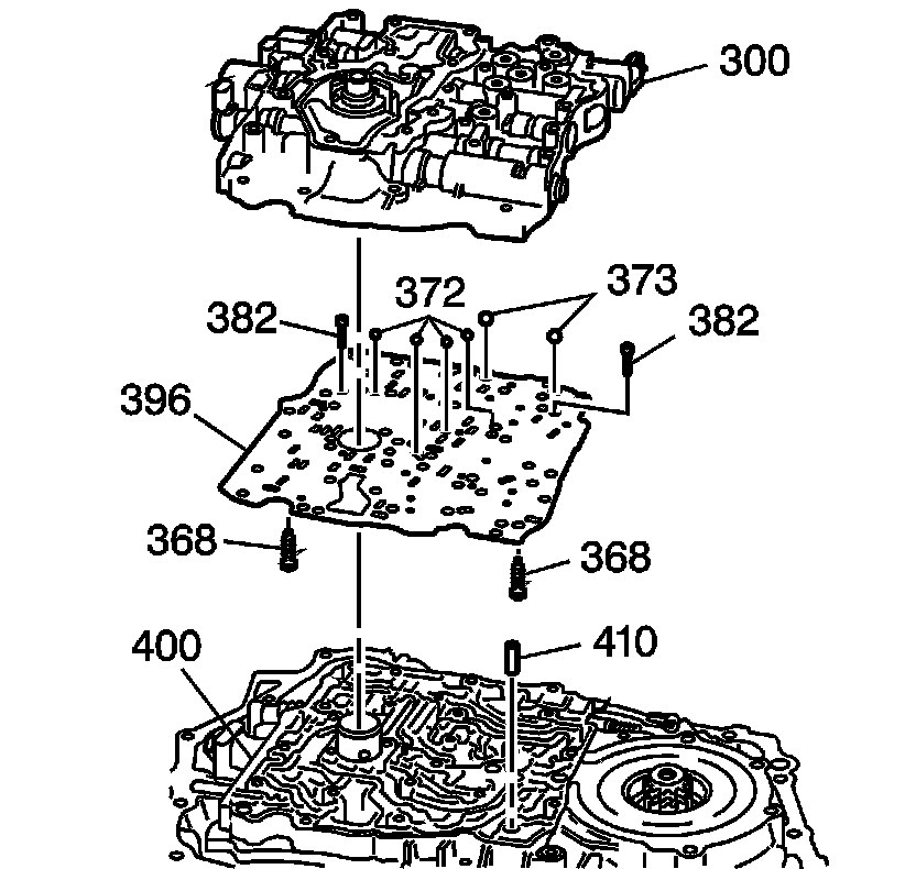
4. Remove the valve body (300) while keeping the spacer plate and gasket assembly (396) with the transaxle.




5. Remove the ball check valves (372 and 373) from the valve body.




6. Remove the spacer plate and gasket assembly (396).




7. Remove the ball check valves (372) from the case cover.




8. Inspect each check valve seat in the spacer plate (370) for excessive peening. Place a ball check valve (372) on each seat and use a flashlight in order to look for visible light between the valve and the seat.

Installation Procedure

Notice: Do NOT use any type of grease to retain parts during the assembly of this unit. Using greases other than the recommended assembly lube changes the transaxle fluid characteristics. Using greases other than the recommended assembly lube causes undesirable shift conditions and/or filter clogging. Use TRANSJEL(TM) J 36850 or equivalent during the assembly of this unit.




1. Install the ball check valves (372) into the case cover. Use the J 36850 to retain the ball check valves in their proper locations.




2. Install the gasket and spacer plate assembly (396).




3. Install the ball check valves (372 and 373) into the valve body. Use the J 36850 to retain the ball check valves in their proper locations.





Important: Do NOT use impact type tools on the valve body or on the oil pump.

4. Install the spacer plate/gasket assembly (396) and the valve body (300).





Notice: Refer to Fastener Notice.

5. Install the valve body bolts (374-381, 384).

* Tighten the M6 X 1.0 X 20 bolt (381) to 8 N.m (70 lb in).
* Tighten the M6 X 1.0 X 30 bolt (376) to 12 N.m (106 lb in).
* Tighten the M6 X 1.0 X 45 bolt (377) to 12 N.m (106 lb in).
* Tighten the M6 X 1.0 X 55 bolt (378) to 12 N.m (106 lb in).
* Tighten the M6 X 1.0 X 60 bolt (375) to 12 N.m (106 lb in).
* Tighten the M6 X 1.0 X 65 bolt (374) to 12 N.m (106 lb in).
* Tighten the M6 X 1.0 X 85 bolt (384) to 12 N.m (106 lb in).
* Tighten the M6 X 1.0 X 95 bolt (379) to 16 N.m (11 lb ft).
* Tighten the M8 X 1.25 X 90 bolt (380) to 25 N.m (18 lb ft).

6. Install the oil pump.
7. Install the case side cover.

Important: It is recommended that transmission adaptive pressure (TAP) information be reset.

Resetting the TAP values using a scan tool will erase all learned values in all cells. As a result, The ECM, PCM or TCM will need to relearn TAP values. Transmission performance may be affected as new TAP values are learned.

8. Reset the TAP values. Refer to Transmission Adaptive Functions.