Curiosii for ever!: Car repair manuals for everyone.

Fluid - A/T: Service and Repair



Automatic Transmission Fluid Filter and Seal Replacement

Removal Procedure




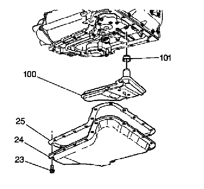
1. Remove the oil pan (24) and the gasket (25).
2. Remove the filter (100). Remove the lip ring seal (101) pressed into the case only if replacement is necessary.
3. Inspect the oil pan and the filter for the following foreign material:

* metal particles
* clutch facing material
* rubber particles
* engine coolant

4. Determine the source of the contamination if foreign material is evident.
5. Correct the source of the contamination.

Installation Procedure




1. If removed, install a new seal (101).




2. Install the filter (100).
3. Install the gasket (25) and the oil pan (24).