Curiosii for ever!
: Car repair manuals for everyone.
Home
>>
Chevrolet
>>
2007
>>
Corvette V8-7.0L
>>
Repair and Diagnosis
>>
Powertrain Management
>>
Emission Control Systems
>>
Catalytic Converter
>>
Service and Repair
>>
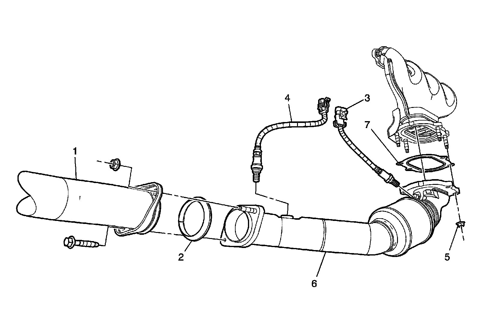
Catalytic Converter Replacement - Right Side
Catalytic Converter Replacement - Right Side
Catalytic Converter
Replacement - Right Side (7.0L)