Curiosii for ever!: Car repair manuals for everyone.

Brake Lamp



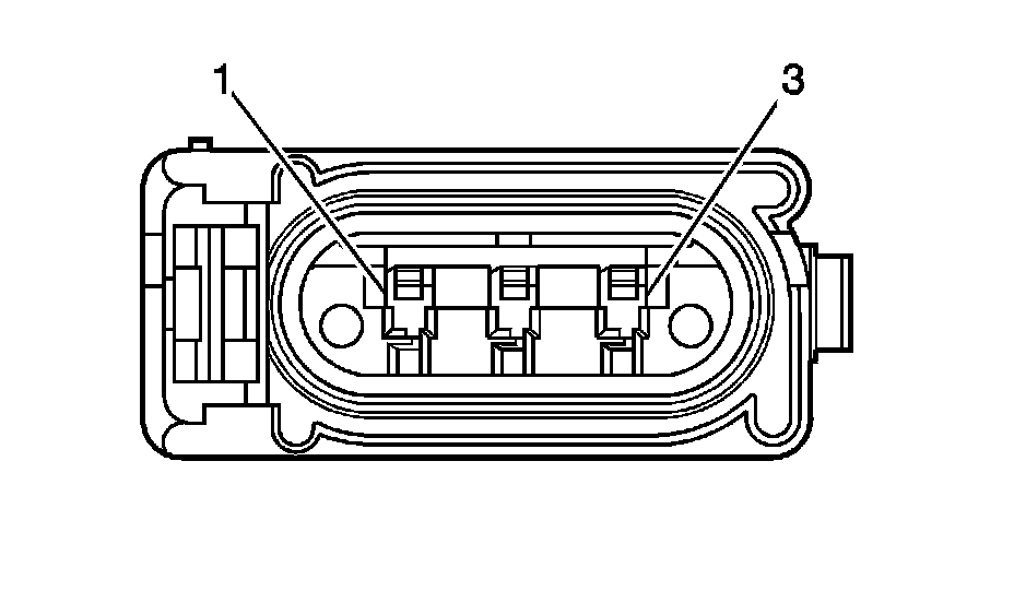
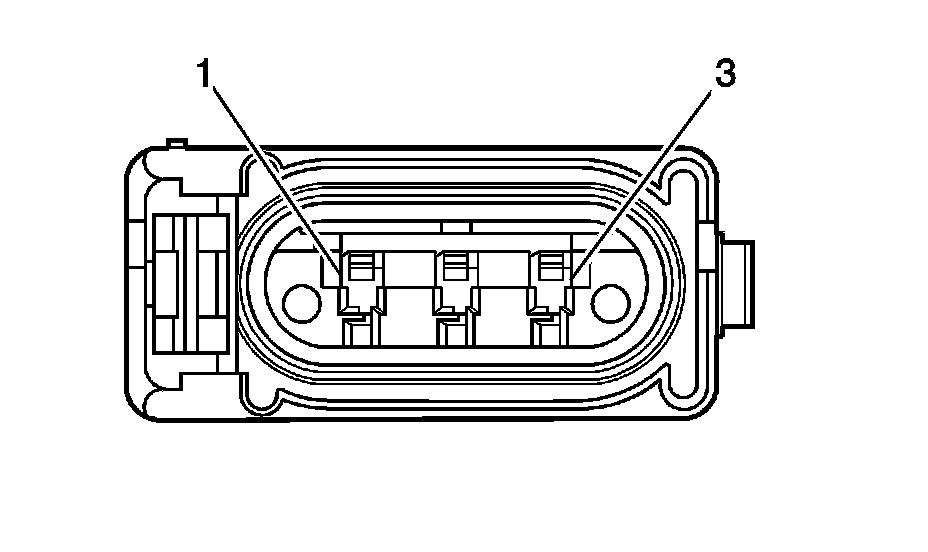
Lighting Systems Connector End Views

Tail/Stop Lamp - Left (T79)














Tail/Stop Lamp - Right (T79)














Tail/Stop and Turn Signal Lamp - Left Inner (w/o T79)














Tail/Stop and Turn Signal Lamp - Left Outer (w/o T79)














Tail/Stop and Turn Signal Lamp - Right Inner (w/o T79)














Tail/Stop and Turn Signal Lamp - Right Outer (w/o T79)