Curiosii for ever!: Car repair manuals for everyone.

Disc Brake Hardware Replacement

Disc Brake Hardware Replacement

Removal Procedure

Caution: Refer to Brake Dust Caution in Service Precautions.





1. Remove the disc brake caliper bolts.
2. Using a C-clamp installed to the center of the outer disc brake pad and the back of the caliper, slowly compress the caliper piston into its bore just enough to remove the caliper from the mounting bracket.
3. Remove the disc brake caliper from the mounting bracket.
4. Remove the disc brake pads from the disc brake caliper bracket.
5. Remove the disc brake pad retainers from the disc brake caliper bracket.





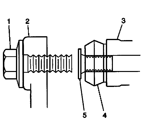
6. Remove the caliper pins (5) from the disc brake caliper mounting bracket (3).
7. Remove the caliper pin boots (4) from the disc brake caliper mounting bracket.
8. Lightly wire brush all brake pad contact areas in order to remove any corrosion.

Installation Procedure





1. Install the caliper pin boots (4) to the disc brake caliper mounting bracket.
2. Install the caliper pins (5) to the disc brake caliper mounting bracket (3).
3. Install the disc brake pad retainers to the disc brake caliper bracket.
4. Install the disc brake pads to the disc brake caliper bracket.
5. Install the disc brake caliper to the mounting bracket.

Notice: Refer to Fastener Notice in Service Precautions.

6. Install the disc brake caliper bolts (1).
- Tighten the disc brake caliper bolts to 31 Nm (23 lb ft).
Apply and release the brake pedal 3/4 stroke as many times as necessary in order to obtain a firm brake pedal.