Curiosii for ever!: Car repair manuals for everyone.

Disc Brake Hardware Replacement

Disc Brake Hardware Replacement

Removal Procedure





1. Remove the disc brake pads.
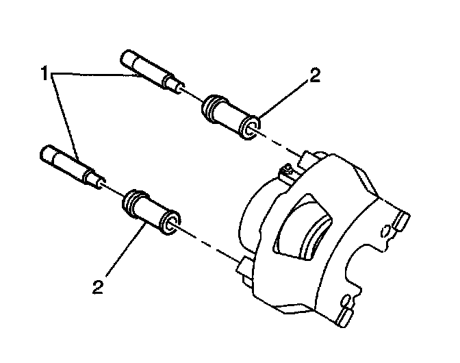
2. Remove the disc brake caliper bolts (1) from the caliper assembly.
3. Remove the caliper bushings (2) from the brake caliper assembly, and discard the bushings.
4. Inspect the caliper bushing bores in the caliper assembly. Remove any debris or corrosion from the bores.
5. Inspect the bolts for rust, corrosion, and/or damage. If any of these conditions are present, replace the bolts.

Installation Procedure





1. Apply a thin layer of high temperature silicone brake lubricant to the exterior of the NEW brake caliper bushings (2).
2. Install the NEW bushings (2) into the caliper assembly. Ensure that the chamfered end of the bushings are positioned outboard when in-vehicle.
3. Apply a liberal amount of high temperature silicone brake lubricant to the interior of the NEW bushings (2). Ensure that the lubricant fills the cavities beside the ribs on the inside of the bushings (4).
4. Apply a thin layer of high temperature silicone brake lubricant to the bushing surface of the caliper bolts.
5. Install the caliper bolts to the bushings.
6. Thoroughly clean the brake pad mating surface on the steering knuckle of any surface debris and/or corrosion.
7. Apply a thin layer of high temperature silicone brake lubricant to the brake pad mating surface on the steering knuckle.
8. Install the disc brake pads.