Curiosii for ever!: Car repair manuals for everyone.

Electrical Diagrams



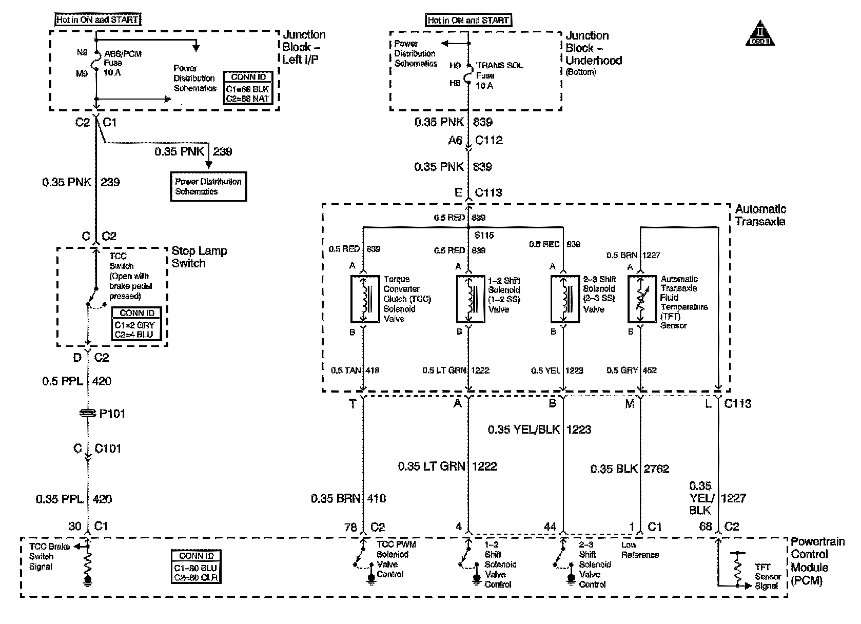
TRANSMISSION CONTROLS

Solenoids, TCC, And TFT:





ISS, Pressure Control, Solenoid Valve, And VSS:





PRNDL:






Location: The locations for the Connectors, Grounds, Splices, and grommets shown within these diagrams can be found via their numbers at vehicle locations. Locations