Curiosii for ever!: Car repair manuals for everyone.

Condenser HVAC: Service and Repair

CONDENSER REPLACEMENT

TOOLS REQUIRED
J 39400-A Halogen Leak Detector







REMOVAL PROCEDURE
1. Recover the refrigerant from the A/C system.
2. Remove the upper radiator support.
3. Remove the front evaporator tube to condenser bolt.
4. Disconnect the front evaporator tube from the condenser.

IMPORTANT: Cap or tape off the A/C components immediately to prevent system contamination.

5. Remove and discard the O-ring.
6. Cap or tape the open evaporator tube and the condenser.
7. Reposition the front evaporator tube.
8. Raise and support the vehicle. Refer to Vehicle Lifting.

IMPORTANT: Prior to removal, take note of the compressor hose routing and orientation between the compressor and condenser.







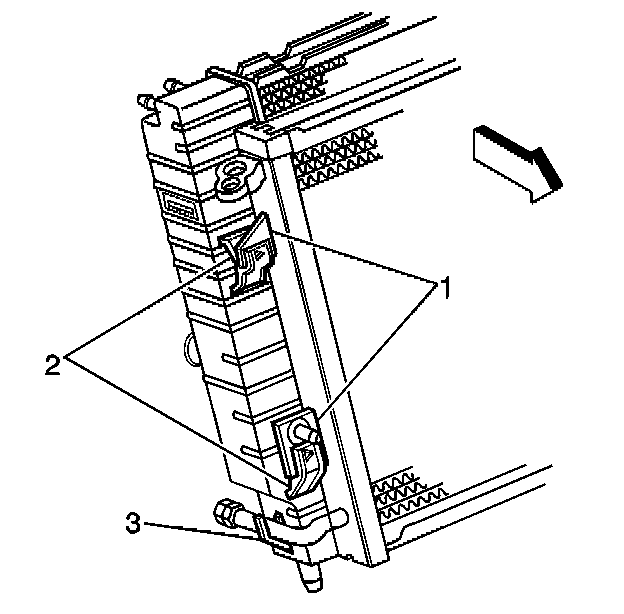
9. Using a back-up wrench on the condenser fitting (2), loosen the compressor hose fitting (1) from the condenser.

10. Cap or tape the open compressor hose and the condenser.







11. Disconnect the compressor hose from the condenser.
12. remove and discard the O-ring.







13. Lower the vehicle.
14. Remove the radiator air baffle.
15. Raise the condenser along the radiator to release the condenser tabs (1) from the radiator slots (2).







16. Remove the condenser from the vehicle.
17. Inspect the condenser insulators along the LH and RH front edges of the condenser for wear or damage.








INSTALLATION PROCEDURE
1. Replace the condenser insulators (2), if necessary:
1.1. Remove all traces of the old insulators.
1.2. Using isopropyl alcohol, or equivalent, wipe clean the front surface of the condenser LH and RH edges.
1.3. Remove the paper backing (1) from the new insulators (2).
1.4. Align and install the insulators (2) while keeping a gap (3) of 1 mm (0.039 in) between the insulators (2) and the inner edges of the condenser, as shown

IMPORTANT: If replacing the condenser, add the refrigerant oil to the condenser. Refer to Refrigerant System Capacities for system capacity information.







2. Position the condenser into the vehicle.
Install the condenser to the radiator so that the condenser is above the installed position.







3. Lower the condenser to secure the condenser tabs (1) to the radiator slots (2).
4. Install the radiator air baffle.
5. Raise and support the vehicle.
6. Remove the cap or tape from the compressor hose and the condenser.
7. Install a new O-ring.







8. Install the compressor hose to the condenser.







9. Using a back-up wrench on the condenser fitting (2), secure the compressor hose fitting (1) to the condenser.

NOTE: Refer to Fastener Notice in Service Precautions.

Tighten
Tighten the fitting to ..........................24 N.m (17 lb ft).

10. Lower the vehicle.
11. Remove the cap or tape from the front evaporator tube and the condenser.
12. Install a new O-ring.







13. Connect the front evaporator tube to the condenser.
14. Install the evaporator tube to condenser bolt.

Tighten
Tighten the bolt to ..................27 N.m (20 lb ft).

15. Install the upper radiator support.
16. Evacuate and recharge the A/C system. Refer to Refrigerant Recovery and Recharging.
17. Leak test the fittings of the component using J 39400-A.