Curiosii for ever!
: Car repair manuals for everyone.
Home
>>
Chevrolet
>>
2004
>>
Corvette V8-5.7L VIN G
>>
Repair and Diagnosis
>>
Diagrams
>>
Exploded Views
>>
Automatic Transmission/Transaxle
>>
Case and Associated Parts
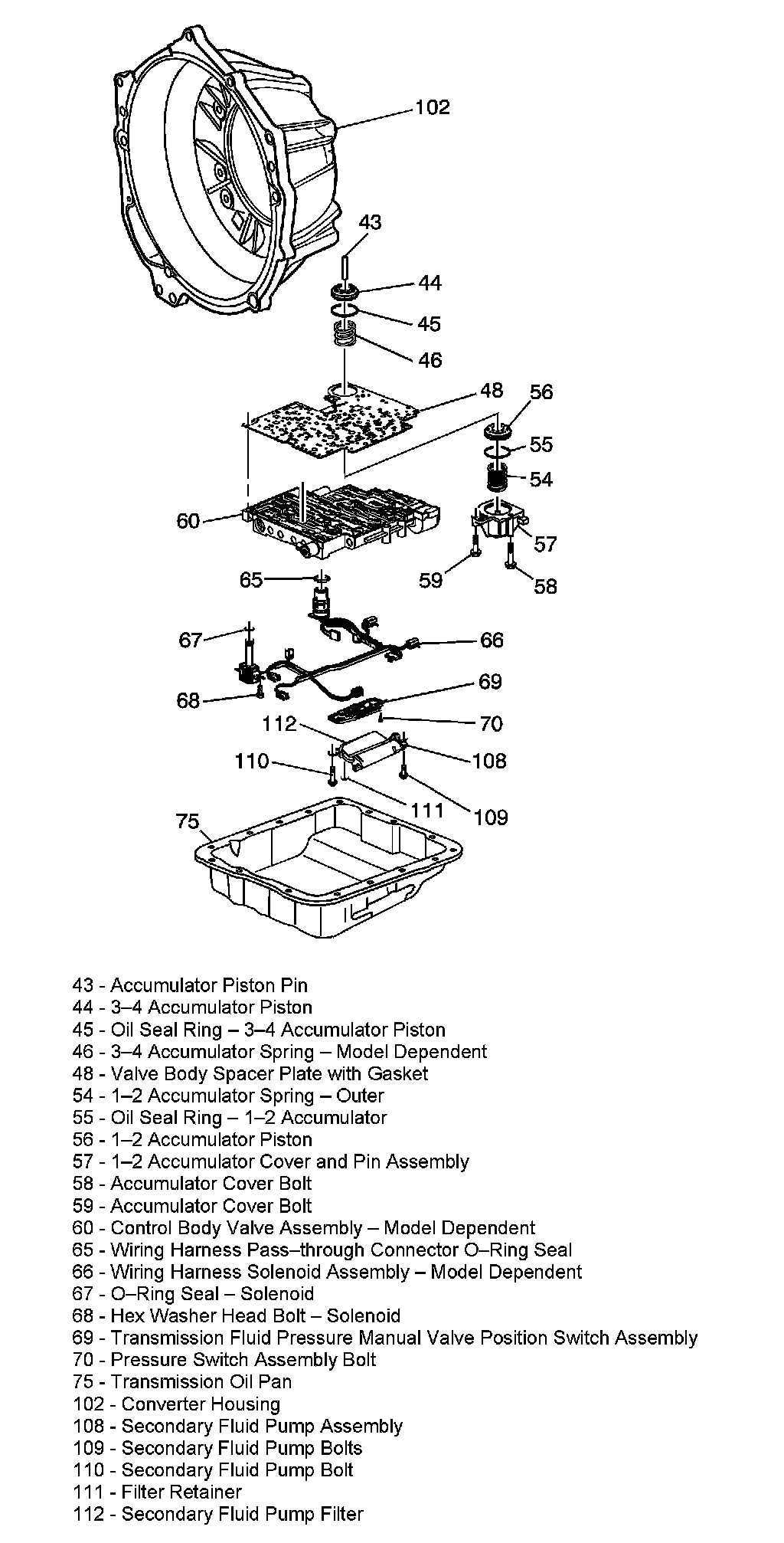
Case and Associated Parts
Disassembled Views
Case and Associated Parts (1 of 2)
Case and Associated Parts (2 of 2) M30/M32
Case and Associated Parts (2 of 2) M33 Only