Curiosii for ever!: Car repair manuals for everyone.

Trunk Lamp: Service and Repair

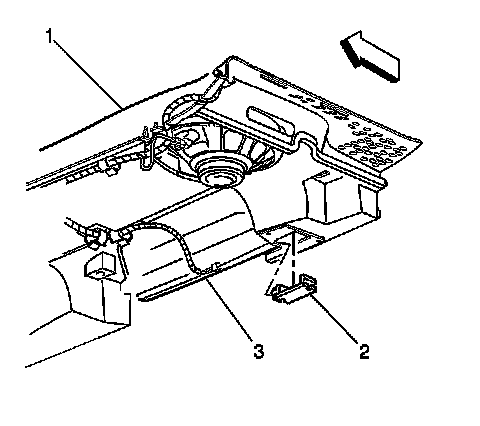
REAR COMPARTMENT LAMP REPLACEMENT

REMOVAL PROCEDURE
1. Open the rear compartment.




2. Release the tabs that retain the rear compartment lamp (2) to the rear shelf panel (1).
3. Disconnect the electrical connector (3) from the rear compartment lamp (2).
4. Remove the bulb from the rear compartment lamp (2).

INSTALLATION PROCEDURE




1. Install the bulb to the rear compartment lamp (2).
2. Connect the electrical connector (3) to the rear compartment lamp (2).
3. Press the rear compartment lamp (2) into the rear shelf panel (1) in order to engage the tabs.
4. Close the rear compartment.