Key and Lock Cylinder Coding
KEY AND LOCK CYLINDER CODING
KEY IDENTIFICATION AND USAGE
A single key is used for all of the locks on the vehicle. The key identification is obtained from the five-character key code located on the key tag. The five character key code should be recorded by the owner and the dealer. The mechanical key code can be determined through the use of a code cross-reference list which is available to owners of key cutting equipment from the equipment suppliers.
CUTTING KEYS
After the mechanical key code has been determined from the code list, perform the following steps:
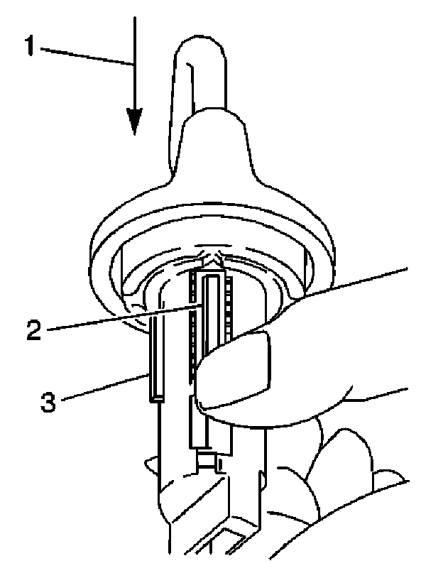
1. Cut a blank key to the proper level (1) of each of the tumbler positions (2).
2. Remove any rough edges from the key using a wire brush or wire wheel.
3. Inspect the key operation in the lock cylinder.
REPLACEMENT LOCK CYLINDERS
The lock cylinder keyway is designed so that other model keys will not enter a current model lock cylinder. New lock cylinders are available from the service parts warehouses without tumblers and springs. The tumblers and springs are also available and must be assembled into the lock cylinder according to the mechanical key code.
LOCK CYLINDER TUMBLER OPERATION
All lock tumblers are shaped alike with the exception of the notched position on one side. As the key is inserted into the lock cylinder, the tumblers are lowered to the correct height so that notches on each tumbler are at the same level. When the notches on all six tumblers line up, two small springs push the side bar into the notches, allowing the cylinder to turn in the cylinder bore. Five types of tumblers are used in making the lock combinations. Each tumbler is coded and stamped with a number between 1 and 5.
IGNITION LOCK CYLINDER CODING
TOOLS REQUIRED
J 41340 Ignition Lock Holding Fixture
IMPORTANT: If the original ignition lock cylinder is being RECODED, proceed to step 1. If the ignition lock cylinder is being REPLACED with a new ignition lock cylinder, proceed to step 2.
1. Remove the ignition lock cylinder core from the ignition lock cylinder housing.
a. Insert the key into the ignition lock cylinder.
b. Rotate the lock cylinder core to "START".
c. Press the lock cylinder core retainer located in the end of the ignition lock cylinder.
d. Pull the ignition lock cylinder core out of the lock cylinder housing using the key.
2. Pry the tumbler spring retainer out of the ignition lock cylinder core using a small flat-bladed tool.
3. Remove all of the tumbler springs.
IMPORTANT: Be careful to observe and record each tumbler and it's relative position in the lock cylinder core as the tumblers are removed.
4. Remove all of the tumblers by rotating the lock cylinder so that the tumbler slots are facing down.
5. Hold the lock cylinder core close to a flat surface.
6. Pull the lock cylinder core side bar out with your fingers. It may be necessary to tap the lock cylinder on a hard surface to remove all of the tumblers.
7. Determine the tumbler numbers and their respective positions.
a. Place the tip of the key directly over the tip of the illustrated key.
b. Inspect that the diagram outlines the key.
c. Starting with position 1, the open end of the lock cylinder, find and record the lowest level tumbler number that is visible.
d. Repeat the previous step for positions 2-10.
8. Starting with position 1, insert the tumblers (4) into their corresponding slots in the coded order.
9. Using your fingers, pull out the side bar (3) until the tumblers fall completely into the lock cylinder core.
10. Insert one tumbler spring (2) above each tumbler (4).
11. Lubricate the tumblers using Superlube GM P/N 12346241 or equivalent.
12. Insert the spring retainer (1) prongs into their respective slots in the lock cylinder core.
13. Press the retainer (1) down until the retainer is fully seated in the lock cylinder core.
14. Inspect for proper tumbler installation:
a. Hold the spring retainer (2) in position.
b. Insert the key (1) into the lock cylinder. The side bar (3) should drop down to the level of the lock cylinder core. If the side bar does NOT drop down to the level of the lock cylinder core, proceed to step 2.
15. Remove the key from the lock cylinder core.
16. Secure the lock cylinder in the J 41340.
a. Inspect that the spring retainer is facing up and positioned directly under the punch slots.
b. Insert the lock cylinder completely into the J 41340 until the lock cylinder bezel contacts the J 41340.
c. Tighten the J 41340 holding screw.
17. Stake the bezel end of the spring retainer:
a. Hold the flat side of the punch, part of J 41340 squarely against the face of the lock cylinder bezel.
b. Stake the lock cylinder metal over the spring retainer prong.
18. Stake the opposite end of the spring retainer:
a. Remove the J 41340 punch.
b. Rotate the J 41340 punch 180 degrees.
c. Hold the J 41340 punch squarely against the end of the punch slot on J 41340.
d. Stake the lock cylinder metal over the spring retainer prong.
19. Loosen the J 41340 holding screw.
20. Remove the lock cylinder from the J 41340 .
21. Inspect that the spring retainer is properly staked. Repeat staking as needed.
22. Lubricate the lock cylinder core retainer slot.
23. Insert the following parts into the lock cylinder core retainer slot:
- The lock cylinder retainer spring (2)
- The lock cylinder retainer (3)
IMPORTANT: Use a paste type grease, not a spray, for the following step.
24. Lubricate the following parts with GM P/N 12345996 or equivalent:
- The lock cylinder housing detent pins (1)
- The lock cylinder retainer (3)
25. Orientate the lock cylinder retainer to the tapered notch in the lock cylinder housing.
26. Insert the ignition lock cylinder into the ignition lock cylinder housing.
27. Inspect for proper ignition lock cylinder rotation using the key.
CODING ALL LOCK CYLINDERS EXCEPT IGNITION LOCK CYLINDER
All of the vehicle's lock cylinders, except the ignition lock cylinder, use a maximum of five tumblers.
1. Determine the lock cylinder tumbler numbers and their positions. Refer to Ignition Lock Cylinder Coding.
2. Install the appropriate tumblers accordingly.
3. Install the lock cylinder cap, if applicable to the lock cylinder. Refer to Capping Procedure for Lock Cylinders with Press-On Caps or Capping Procedure for Lock Cylinders without Press-On Caps.
4. Install the lock cylinder actuator arm and retainer on the back of the cylinder, if applicable.
CAPPING PROCEDURE FOR LOCK CYLINDERS WITH PRESS-ON CAPS
1. Hold the lock cylinder so that the lock cylinder key opening is facing up.
2. Install the lock cylinder door springs and the lock cylinder door to the lock cylinder.
3. Install the lock cylinder cap over the lock cylinder door and press the lock cylinder cap down until it snaps into place.
CAPPING PROCEDURE FOR LOCK CYLINDERS WITHOUT PRESS-ON CAPS
1. Hold the lock cylinder so that the lock cylinder opening is facing up.
2. Install the lock cylinder door springs and the lock cylinder door to the lock cylinder.
3. Press and hold the lock cylinder cap down on the lock cylinder. The lock cylinder cap must be completely seated to the lock cylinder.
IMPORTANT: Ensure that the lock cylinder cap is held tight against the lock cylinder while turning the lock cylinder over so that the lock cylinder door springs do not fall out.
4. Hold the lock cylinder cap against the lock cylinder, turn the lock cylinder over and place it face down on a surface that will allow for capping and will not scratch the lock cylinder cap.
5. Using a blunt-ended tool, fold any two opposing lock cylinder cap tabs over the edge of the lock cylinder.
6. Inspect for proper positioning of the lock cylinder door and the lock cylinder cap by inserting the key into the lock cylinder.
7. If the lock cylinder door and cap are positioned properly, fold the remaining lock cylinder cap tabs over the edge of the lock cylinder. If the lock cylinder door and cap are not positioned properly, repeat the capping procedure.