Curiosii for ever!: Car repair manuals for everyone.

Engine Oil Level Sensor/Switch Diagnosis

Diagnostic Chart:




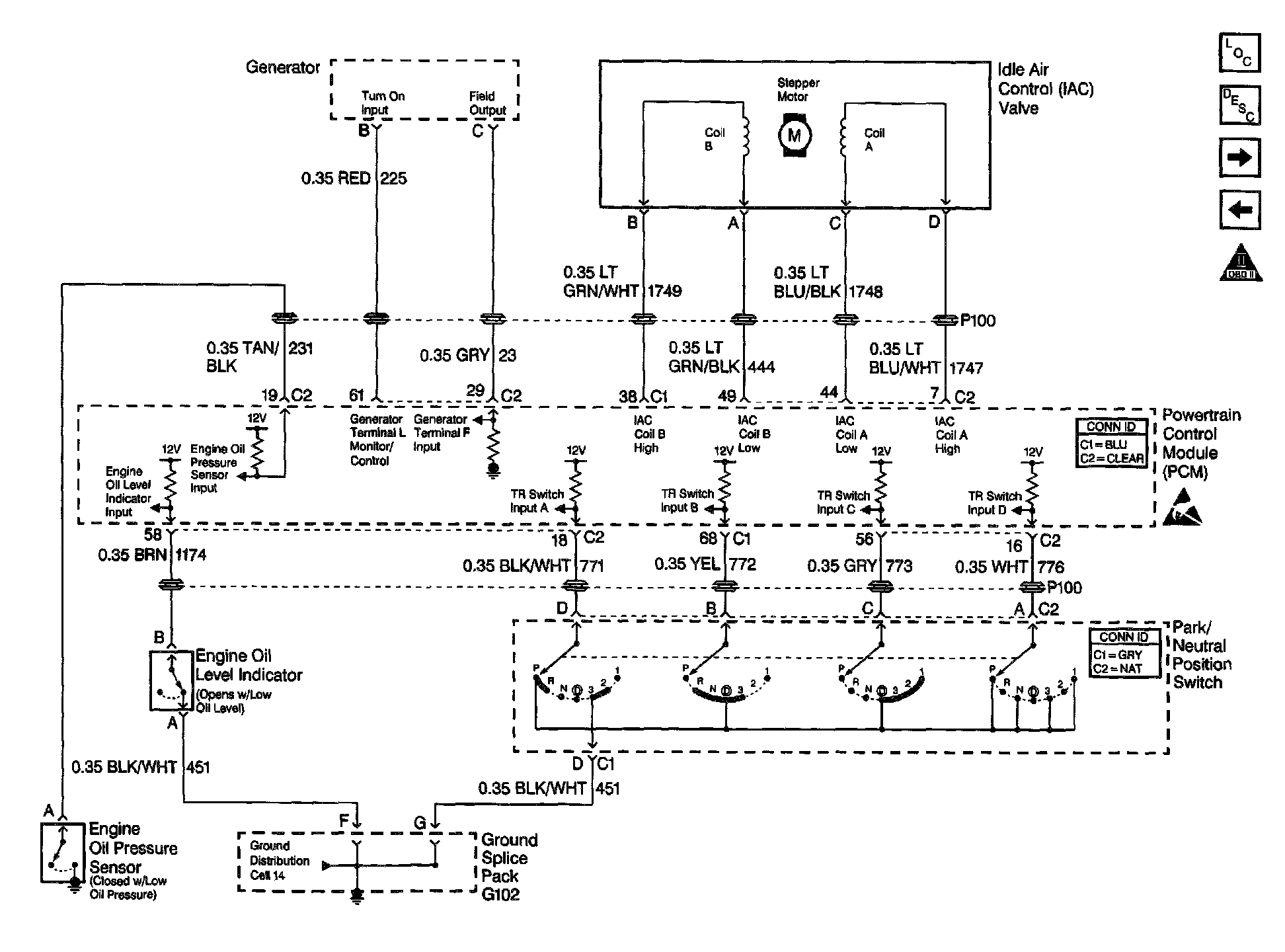
Engine Controls Schematics: Oil Indicators, PNP And IAC:




Engine Controls Schematics: Power, Ground, MAF, EVAP And EGR:






CIRCUIT DESCRIPTION
The engine oil level switch is a simple float switch that is grounded when the engine oil level is OK. The Powertrain Control Module (PCM) inspects the engine oil level switch circuit at start-up. Before inspecting the state of the engine oil level switch, the PCM performs a test routine based on time and engine coolant temperature to ensure that the engine oil has drained back into the sump. To test for low oil level at start-up, one of the following conditions must be present:
^ The engine coolant temperature must be more than 15°C (59°F).
^ The engine coolant temperature at key ON must be at least 12°C (22°F) cooler than the engine coolant temperature at the last key OFF.

The low oil level lamp will be illuminated for about a minute when the PCM inspects for low oil level and the engine oil level switch indicates that a low oil level condition exists (engine oil level switch circuit not grounded). When the ignition is first turned ON, the IPC commands the low oil level lamp ON for a brief period of time to test the bulb.

DIAGNOSTIC AIDS
For diagnosis of the instrument panel, perform the A Diagnostic System Check - Instrument Cluster in Instrument Panel, Gauges and Warning Indicators. Testing and Inspection

Inspect for the following conditions:

IMPORTANT: Remove any debris from the connector surfaces before servicing a component. Inspect the connector gaskets when diagnosing or replacing a component. Ensure that the gaskets are installed correctly. The gaskets prevent contaminate intrusion.

^ Poor terminal connection - Inspect the harness connectors for backed out terminals, improper mating, broken locks, improperly formed or damaged terminals, and faulty terminal to wire connection. Use a corresponding mating terminal to test for proper tension. Refer to Diagrams.
^ Damaged harness - Inspect the wiring harness for damage. If the harness inspection does not reveal a problem, observe the display on the scan tool while moving connectors and wiring harnesses related to the sensor. A change in the scan tool display may indicate the location of the fault. Refer to Diagrams.
^ PCM and engine grounds for clean and secure connections.

If the DTC is determined to be intermittent, reviewing the Failure Records can be useful in determining when the DTC was last set

TEST DESCRIPTION
The numbers below refer to the step numbers on the diagnostic table.
11. This vehicle is equipped with a PCM which utilizes an electrically erasable programmable read only memory (EEPROM). When the PCM is being replaced, the new PCM must be programmed.
12. For the PCM to test engine oil level, start-up engine coolant temperature must be at least 12°C (22°F) cooler than the engine coolant temperature was last time the ignition was turned off. Allowing the engine to warm and then cool ensures that the PCM inspects the engine oil level switch and that the information displayed on the scan tool is current.