Curiosii for ever!: Car repair manuals for everyone.

Console Trim Plate Replacement



Console Trim Plate Replacement

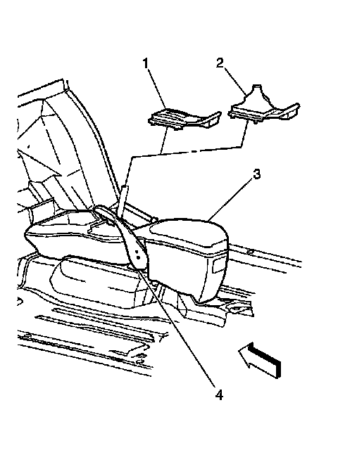
Removal Procedure




1. Gently pry upward on one of the following components in order to disengage the retainers:
For automatic transmission, the console trim plate (1) and disconnect the lighted shift indictor connector.
2. For manual transmission, the shift lever boot (2).

Installation Procedure




1. Align the retainers.
2. Press one of the following components into place:

* For manual transmission, the shift lever boot (2).
* For automatic transmission, the shift indicator connector, the console trim plate (1).