Curiosii for ever!
: Car repair manuals for everyone.
Home
>>
Chevrolet
>>
2000
>>
Cavalier L4-144 2.4L DOHC VIN T SFI
>>
Repair and Diagnosis
>>
Diagrams
>>
Exploded Views
>>
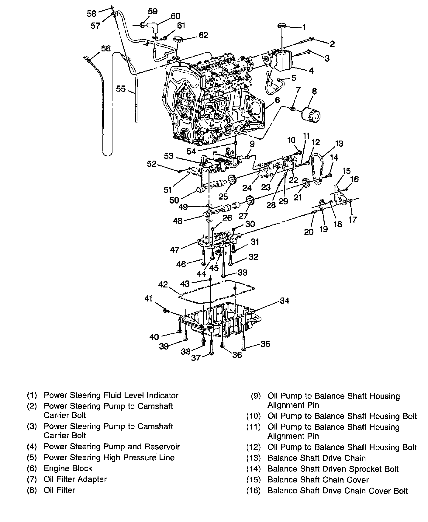
Engine
Engine
Intake and
Exhaust Manifold
Components
Cylinder Head and Components
Cylinder Block and Components
Timing Chain
and Housing Components
Oil Pan
and
Balance Shaft
Components