Curiosii for ever!: Car repair manuals for everyone.

Heater Core: Service and Repair

HEATER CORE REPLACEMENT

REMOVAL PROCEDURE




1. Drain the engine coolant.
2. Remove the heater hoses/pipes.
3. Remove the heater core tube clamp bolt.
4. Remove the heater core tube clamp.
5. Remove the heater core shroud seal.
6. Remove the heater rear case bolts (2).
7. Remove the heater rear case (4):
7.1. Slide the heater rear case (4) downward in order to disengage the upper case clip.
7.2. Remove the heater rear case.
8. Remove the instrument panel (IP) compartment door.
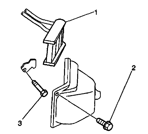
9. Remove the heater core clamp bolt (3).
10. Remove the heater core clamp.
11. Remove the heater core (1).

INSTALLATION PROCEDURE




1. Install the heater core.
2. Install the heater core clamp.

NOTE: Refer to Fastener Notice in Service Precautions.

3. Install the heater core clamp bolt.

Tighten
Tighten the heater core clamp bolt to 1.8 N.m (16 lb in).

4. Use the following steps in order to install the heater rear case (4):
4.1. Slide the heater rear case upward into position until the upper clip engages.
4.2. Engage the snap on the left edge of the heater rear case to the distributor case.
4.3. Install the bolts to the heater rear case.

Tighten
Tighten the heater rear case bolts to 2.0 N.m (18 lb in).

5. Install the heater core shroud seal.
6. Install the heater core tube clamp.
7. Remove the heater core tube clamp bolt.

Tighten
Tighten the heater core tube clamp bolt to 2 N.m (18 lb in).

8. Remove the instrument panel (IP) compartment door.
9. Install the heater hoses/pipes.
10. Drain the engine coolant.