Curiosii for ever!: Car repair manuals for everyone.

Generator Overhaul

REMOVAL PROCEDURE



TOOLS REQUIRED
J22912-01 Bearing Puller

1. Remove the generator from the vehicle.
2. Scribe matchmarks (3) on the front (4) and the rear housing (2) to ensure proper assembly.




3. Remove the four generator housing bolts (1,3) from the front housing.




4. Using a flat-bladed tool, gently pry off the front housing (7) (with the drive pulley and the rotor) from the stator coil (1) and the rear housing (2).

NOTE: To prevent damage to the rotor, place clean shop cloths between the rotor and the vise.

5. Place the front housing and the rotor into a vise, facing the drive pulley up.
6. Remove the drive pulley retaining nut.
7. Remove the drive pulley washer and the drive pulley from the rotor.
8. Remove the front housing and the rotor from the vise.
9. Remove the rotor and the spacer from the front housing.




10. Remove four screws (1,3), the front bearing retainer and the front bearing from the front housing.




11. Remove the rear bearing (1) from the rotor using a J22912-O1 and a press.




12. Remove the battery terminal retaining (2) nut from the rear housing.




13. Remove four retaining screws (2) and the stator (3) from the rear housing.
14. Remove the rectifier from the rear housing.
15. Remove the regulator and the brush holder from the rear housing.
16. Remove the brush holder from the regulator.




17. Remove the brushes from the regulator (1).
17.1. Remove the brush lead wire cover (4).
17.2. Using a soldering iron, heat and disconnect the brush lead wires (2) from the regulator terminals (3).
17.3. Remove the brushes and the brush springs from the regulator.

INSTALLATION PROCEDURE



1. Connect the brushes (2) to the regulator (1).
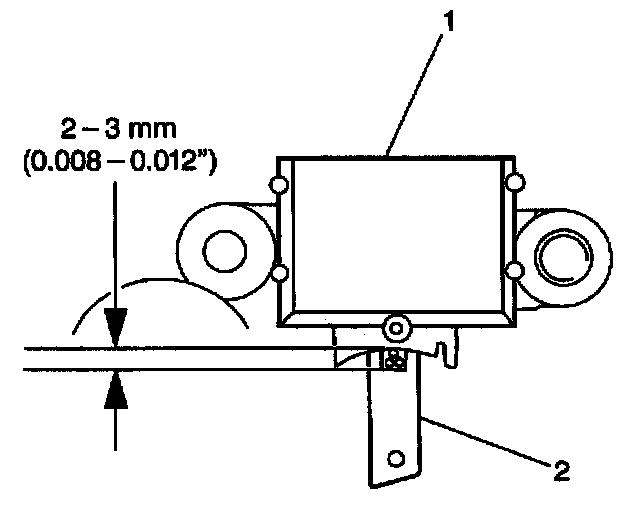
2. Install the brush springs and the brushes to the regulator so that the label on each brush is 2-3 mm (0.008-0.012 in) from the rectifier.




3. Solder the brush lead wires (2) to the regulator terminals (3).
4. Install the brush lead wire cover (4).
5. Connect the brush holder to the regulator (1).
6. Install the regulator and the brush holder to the rear housing.




7. Remove the hole plug from the rear housing.
8. Support the brushes with a wire inserted through the hole in the rear housing (2).




9. Install the rectifier to the rear housing (1).
10. Install the stator (3) to the rear housing. Secure the stator with the four retaining screws (2).




NOTE: Refer to Fastener Notice in Cautions and Notices.

11. Install the battery terminal retaining nut (2) to the rear housing.

Tighten
Tighten the battery terminal retaining nut to 10 N.m (89 lb in).

12. Install the rear bearing to the rotor.




13. Install the front bearing and the front bearing retainer to the front housing. Secure with 4 screws (1,3).




14. Install the rotor with the spacer to the front housing.

NOTE: To prevent damage to the rotor, place clean shop cloths between the rotor and the vise.

15. Place the front housing and the rotor into a vise, facing the drive pulley end up.
16. Install the drive pulley and the drive pulley washer to the rotor. Secure the pulley with the retaining nut.

Tighten
Tighten the drive pulley retaining nut to 65 N.m (48 lb ft).

17. Remove the front housing and the rotor from the vise.
18. Using a heat gun, heat the rear housing to 50-60°C (122-140°F).
19. Install the front housing (4), the drive pulley, and the rotor to the stator coil (5) and the rear housing (6). Align the generator housing match marks. Secure with the 4 generator housing bolts.

Tighten
Tighten the generator housing bolts to 30 N.m (22 lb ft).

20. Remove the brush support wire and install the hole plug into the rear housing.
21. Make sure that the rotor rotates smoothly by turning the drive pulley.
22. Install the generator to the vehicle.