Keyless Entry Transmitter Battery: Service and Repair
REMOVAL PROCEDURE
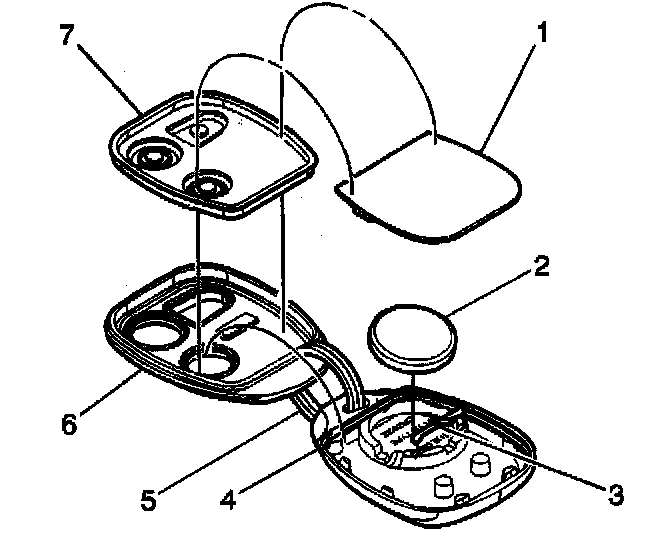
1. Open the transmitter case (6,4).
1.1. Insert a small screwdriver between the two halves of the transmitter case (6,4) at the slot provided near the key ring hole (5).
1.2. Twist the small screwdriver in order to open the case.
2. Remove the battery (2).
INSTALLATION PROCEDURE
1. Install the battery (2).
2. Use one three-volt CR2032 battery or the equivalent.
3. Install the battery with the positive side down.
4. Close the transmitter case (6,4).
5. Ensure that the seal is in position. Align the two halves of the case (6,4) and snap the two halves together.
6. Verify the operation of the transmitter.
7. A malfunctioning transmitter may need resynchronization. Refer to Transmitter Synchronization. Transmitter Synchronization
8. The normal battery life is approximately two years. Replace the batteries when the range of the transmitter begins to decrease to less than approximately seven meters (23 ft).