Curiosii for ever!: Car repair manuals for everyone.

Heater Core: Service and Repair

Heater Core Replacement


REMOVAL PROCEDURE




1. Remove the HVAC module from the vehicle. Service and Repair
2. Remove the screws retaining the heater core outlet cover.
3. Remove the heater core outlet cover.




4. Remove the screws retaining the heater core cover.
5. Remove the heater core cover.




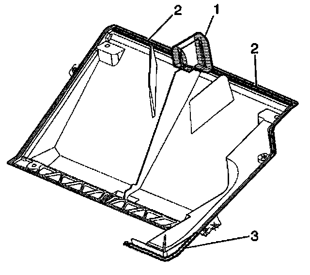
6. Remove and discard the cavity (1), whistle (2), and permagum (3) seals from the heater core cover.




7. Remove and discard the heater core outer seal (5) from the heater core.




8. Remove the heater core retaining clamp screw (1).
9. Remove the heater core retaining clamp.
10. Remove the heater core pipe retainer clamp screw (2).




11. Remove the heater core from the HVAC module case - lower.




12. Remove and discard the heater core lower seal (4) from the HVAC module case - lower.




13. Remove and discard the heater core center seal (3) from the HVAC module case - lower.




14. Remove and discard the heater core upper seal (2) from the HVAC module case - lower.




15. Remove and discard the heater core side seals (1) from the HVAC module case - lower.




16. Remove the heater core pipe retainer clamp from the heater core pipes.
Using a flat bladed screwdriver, release the retaining tab and open the clamp.

INSTALLATION PROCEDURE




1. Install the heater core pipe retainer clamp to the heater core pipes.
Align the depression in the clamp to the ridge on one of the heater core pipes, then close the clamp to secure.




2. Install new heater core side seals (1) to the HVAC module case - lower.




3. Install a new heater core upper seal (2) to the HVAC module case - lower.




4. Install a new heater core center seal (3) to the HVAC module case - lower.




5. Install a new heater core lower seal (4) to the HVAC module case - lower.




6. Install the heater core to the HVAC module case - lower.

NOTE: Refer to Fastener Notice in Service Precautions.




7. Install the heater core pipe retainer clamp screw (2).

Tighten
Tighten the heater core pipe retainer clamp screw to 1.8 N.m (14 lb in).

8. Install the heater core retaining clamp.
9. Install the heater core retaining clamp screw (1).

Tighten
Tighten the heater core retaining clamp screw to 1.6 N.m (14 lb in).




10. Install a new heater core outer seal (5) to the heater core.




11. Install new cavity (1), whistle (2), and permagum (3) seals to the heater core cover.




12. Install the heater core cover.
13. Install the heater core cover retaining screws.

Tighten
Tighten the heater core cover retaining screws to 1.6 N.m (14 lb in).




14. Install the heater core outlet cover.
15. Install the heater core outlet cover retaining screws.

Tighten
Tighten the heater core outlet cover retaining screws to 1.6 N.m (14 lb in).

16. Install the HVAC module to the vehicle.