Curiosii for ever!: Car repair manuals for everyone.

Coolant Line/Hose: Service and Repair

REMOVAL PROCEDURE





Notice: When adding coolant, use DEX-COOL coolant. If silicated coolant is added to the system, premature engine, heater core or radiator corrosion may result. In addition, the engine coolant will require change sooner-at 50,000 km (30,000 mi) or 24 months.

Caution: Refer to Battery Disconnect Caution in Service Precautions.

1. Disconnect the negative battery cable.
2. Drain the coolant. Recover the coolant. Refer to Service and Repair.
3. Remove the exhaust manifold heat shield.
4. Remove the cover to the outlet pipe bolt (1) through the exhaust manifold runners.
5. Raise the vehicle. Refer to Vehicle Lift Points.





6. Disconnect the radiator outlet hose (1) from the radiator outlet pipe (3).





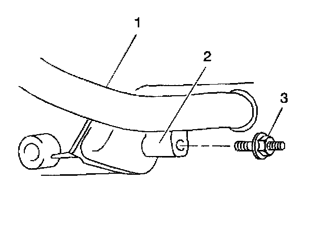
7. Remove the radiator outlet pipe (1) to the oil pan (2) bolt (3).





8. Remove the cover to the outlet pipe bolt.
9. Remove the thermostat (2).
10. Clean the mating surfaces of the radiator outlet pipe and the coolant pump cover.


INSTALLATION PROCEDURE





1. Install the thermostat (2).
2. Install the cover to the outlet pipe bolt
^ Tighten the bolt to 14 Nm (124 inch lbs.).

Notice: Refer to Fastener Notice in Service Precautions.





3. Install the radiator outlet pipe (1) to oil pan (2).
^ Tighten the outlet pipe to oil pan bolt to 26 Nm (19 ft. lbs.).





4. Connect the radiator hose (1) to the outlet pipe (3).
5. Lower the vehicle.





6. Install the cover to the outlet pipe bolt (1) through the exhaust manifold runners.
7. Install the manifold heat shield.
8. Fill the cooling system. Refer to Service and Repair.
9. Connect the negative battery cable.
10. Inspect for leaks.
11. Start the engine. After the engine reaches normal operating temperature, check for coolant leaks.