Curiosii for ever!: Car repair manuals for everyone.

Battery Replacement

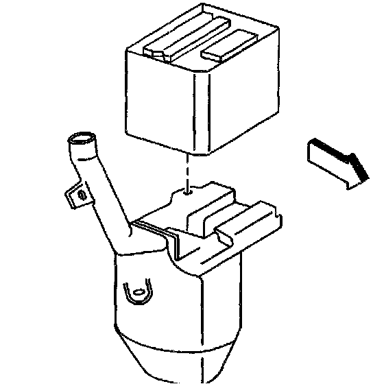
REMOVAL PROCEDURE

CAUTION: Refer to Battery Disconnect Caution in Cautions and Notices.




1. Disconnect the negative battery cable.




2. Disconnect the positive battery cable.




3. Remove the battery hold down retainer bolt.
4. Remove the battery hold down retainer.




5. Remove the battery from the battery tray/coolant recovery reservoir.

INSTALLATION PROCEDURE




1. Install the battery to the battery tray/coolant recovery reservoir.




2. Install the battery hold down retainer.

NOTE: Refer to Fastener Notice in Cautions and Notices.

3. Install the battery hold down retainer bolt.

Tighten
Tighten the battery hold down retainer bolt to 18 N.m (13 lb ft).




4. Connect the positive battery cable.

Tighten
Tighten the positive battery cable to 15 N.m (11 lb ft).




5. Connect the negative battery cable.