Curiosii for ever!: Car repair manuals for everyone.

Data Link Connector Diagnosis












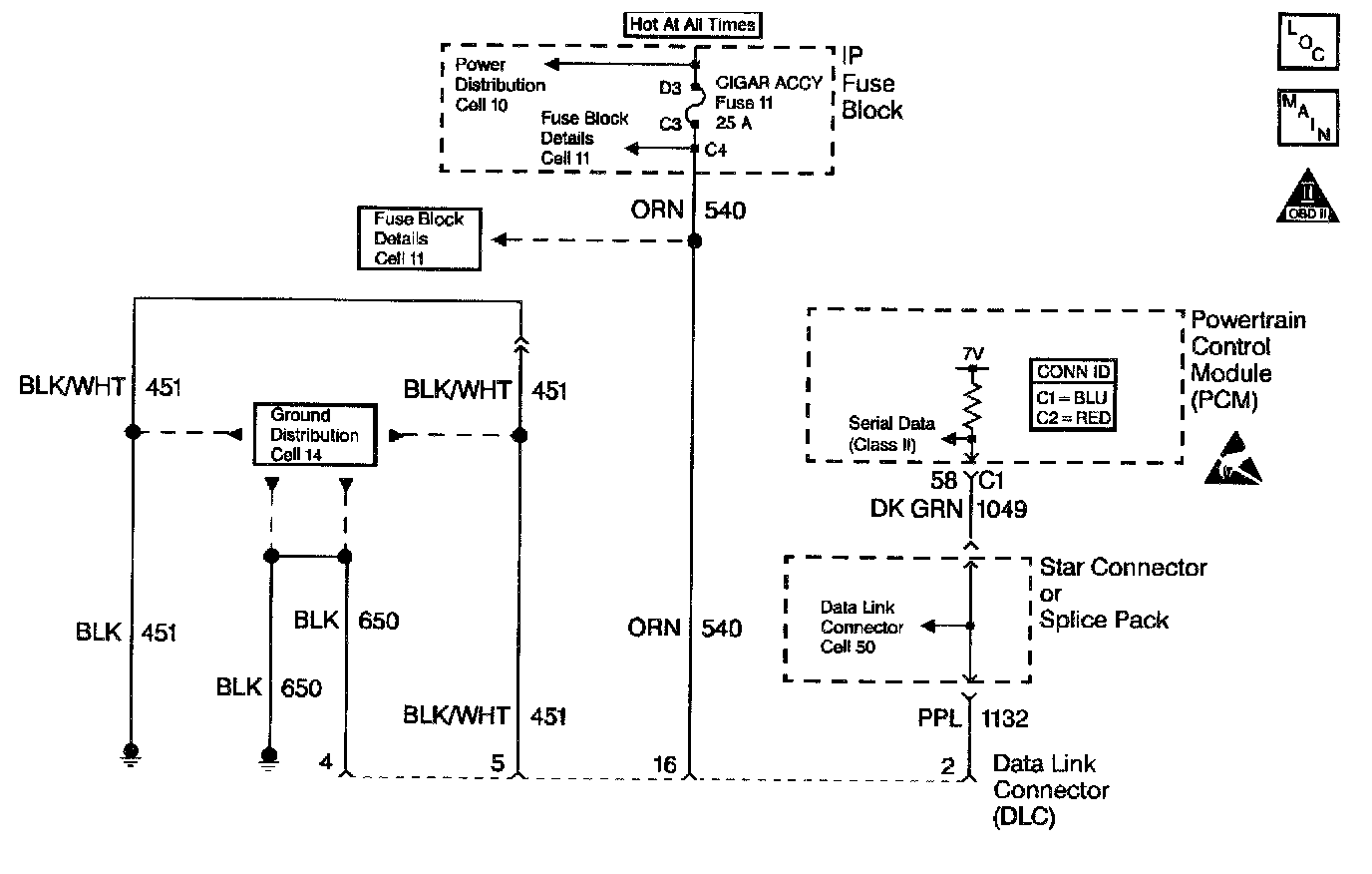
Circuit Description

Use a properly functioning scan tool with the diagnostic tables. DO NOT use the Clear Info function unless instructed by a diagnostic procedure.

Important: This vehicle, equipped with a Powertrain Control Module (PCM), utilizes an Electrically Erasable Programmable Read Only Memory (EEPROM). Program the new PCM when the diagnostics call for replacement of the PCM.

Diagnostic Aids

^ The following may cause an intermittent:
- Poor connections, Refer to Intermittents and Poor Connections Diagnosis. Intermittent Conditions
- Corrosion
- Mis-routed harness.
- Rubbed through wire insulation.
- Broken wire inside the insulation.
^ For an intermittent, refer to Symptoms. Symptom Related Diagnostic Procedures

Test Description

The numbers below refer to the step numbers on the diagnostic table.

3. An engine that just cranks and does not attempt to start indicates that the PCM is not powered-up.
5. A ground must be available at both terminals for the scan tool to function properly.
8. A no start condition occurs when the fuse(s) for the battery or ignition feed circuits is open. The MIL is inoperative when the battery and ignition feed circuit fuses open. Inspect the circuits for being grounded when either of these fuses open.
13. If the test lamp does not illuminate for a circuit, inspect the fuse for being open. If the fuse is open, inspect the circuit for a short to ground.
15. Inspect for an open fuse that supplies the DLC. If the fuse is open, repair the grounded circuit.