Curiosii for ever!: Car repair manuals for everyone.

First Repair


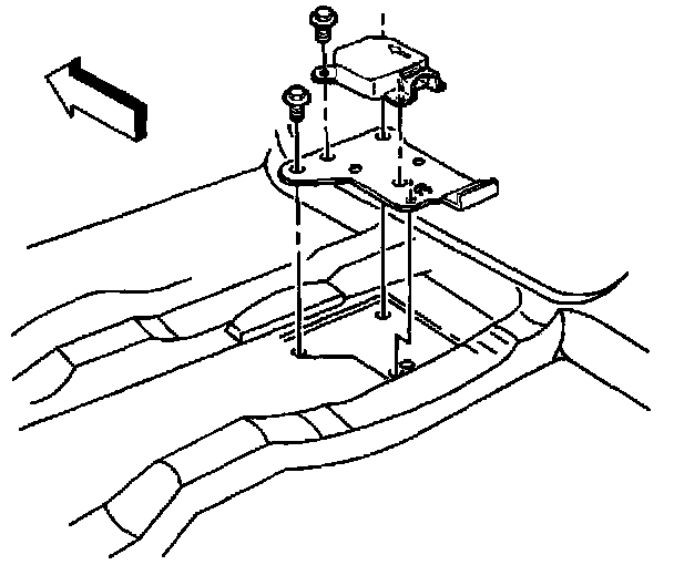
IMPORTANT: If the SDM mounting holes or fasteners are damaged to the extent that the module can no longer be properly mounted, use the following repair. Torque the replacement fastener with a hand tool in order to prevent stripping the replacement fastener.

Description:






^ First Repair

1. Remove the stripped fastener and discard it.

NOTICE: Refer to Fastener Notice in Vehicle Damage Warnings.

2. Install the SDM with larger fastener GM P/N 10267482.
3. Tighten
Tighten fastener to 5 N.m (44 lb in).