Cruise Control Module: Service and Repair
Cruise Control Cable Attachment To Cruise Control Module (Typical):
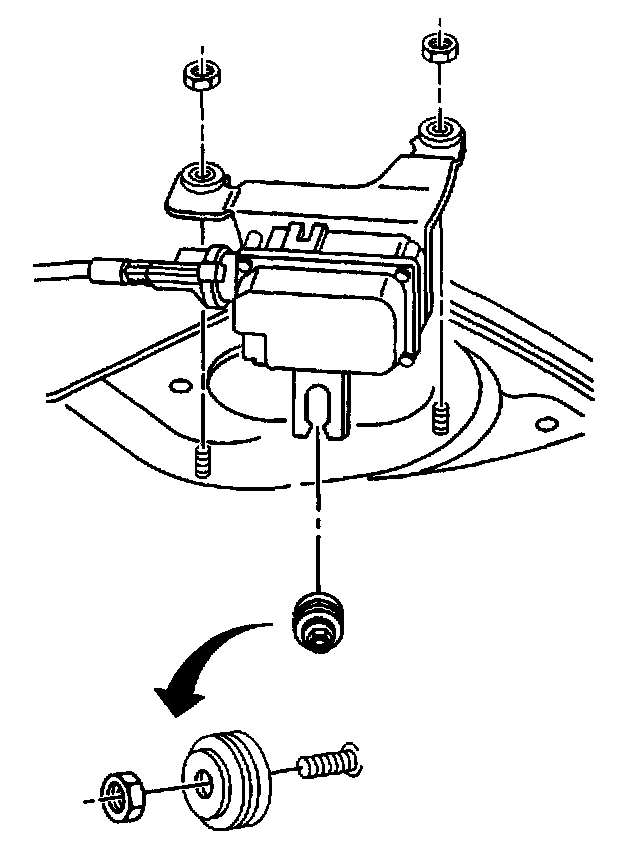
Cruise Control Module Mounting:
CAUTION:
^ This vehicle has a Supplemental Inflatable Restraint (SIR) System. Refer to the SIR Component and Wiring Location View in order to determine whether you are performing service on or near the SIR components or the SIR wiring. When you are performing service on or near the SIR components or the SIR wiring, refer to the SIR On-Vehicle Service information. Failure to follow the CAUTIONS could cause air bag deployment, personal injury, or unnecessary SIR system repairs.
^ Before removing or installing any electrical unit, or when a tool or equipment could easily come in contact with live or hot at all times exposed electrical terminals, disconnect the battery negative cable to help prevent personal injury and/or damage to the vehicle or components Unless instructed otherwise, the ignition switch must be in the OFF or LOCK position.
The cruise control module is mounted to the left strut tower and must be serviced as a complete unit.
REMOVE OR DISCONNECT
1. Cruise control cable from cruise control module.
2. Electrical connector from the cruise control module.
3. Cruise control module to shock tower nuts.
INSTALL OR CONNECT
NOTE: Refer to Fastener Notice in Cautions and Notices.
1. Cruise control module on mounting studs.
2. Cruise Control module to shock tower nuts.
Tighten
^ Nuts to 2 N.m (18 lb. in.).
3. Electrical connector to cruise control module.
4. Cruise control cable to cruise control module.
Adjust
^ Cruise control cable.