Curiosii for ever!: Car repair manuals for everyone.

Windshield Replacement - Short

REMOVAL PROCEDURE

CAUTION:
^ When replacing stationary windows, Urethane Adhesive Kit GM P/N 12346284, or a urethane adhesive system meeting GM Specification GM3651M, must be used to maintain original installation integrity. Failure to use the urethane adhesive kit will result in poor retention of the window which may allow unrestrained occupants to be ejected from the vehicle resulting in personal injury.
^ When working with any type of glass, use approved safety glasses and gloves to reduce the chance of personal injury.

Tools Required
^ Adhesive Kit GM P/N 12346284 or equivalent
^ J 24402-A Glass Sealant Remover (Cold Knife), or equivalent
^ J 24402-15 Windshield Remover Blade, or equivalent (used with cold Knife)
^ Pneumatic Knife
^ Scraper
^ Plastic Paddle

Windshield Replacement: Short - Removal Procedure:




1. Remove the roof lift off panel (coupe) or lower the folding top (convertible).
2. Lower the door windows.
3. Open the hood.
4. Remove the windshield wiper arms and washer hoses.

Windshield Replacement: Short - Removal Procedure:




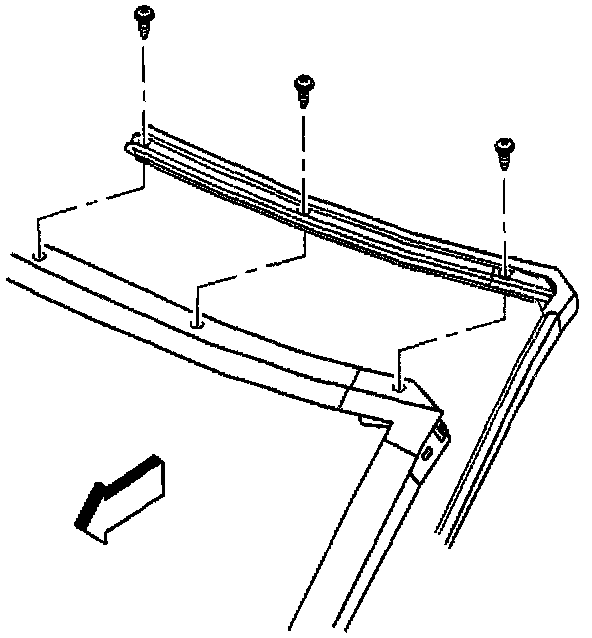
5. Remove the plenum to hood seal.

Windshield Replacement: Short - Removal Procedure:




6. Carefully remove the air inlet plenum screen panel.

Windshield Replacement: Short - Removal Procedure:




7. Mark the location of the lower windshield supports with a grease pencil or tape.
8. Remove the lower windshield supports. Pry the support from the lower edge to separate the two sided tape.

Windshield Replacement: Short - Removal Procedure:




9. Cover the vehicle interior in order to protect the interior from broken glass.
10. Tape over the defogger vent.
11. Disconnect the inside rearview mirror electrical connector.
12. Loosen the mirror attaching screw.
13. Remove the inside rearview mirror.
14. Disconnect the antenna lead connection (coupe).

Windshield Replacement: Short - Removal Procedure:




15. Remove the windshield weatherstrip.

Windshield Replacement: Short - Removal Procedure:




16. Remove the windshield side reveal moldings.

Windshield Replacement: Short - Removal Procedure:




17. Remove the windshield side garnish moldings. Pull the molding with its retainers from the windshield frame.

Windshield Replacement: Short - Removal Procedure:




18. Remove the 4 rearmost screws attaching the top of the fender to the wheelhouse.
19. Reposition the fender for tool access.
20. Tape or otherwise protect the fender from the cutting tool.

Windshield Replacement: Short - Removal Procedure:




Important: Do not damage the VIN plate when cutting through the urethane.

21. Cut around the perimeter of the windshield.
^ Cut as close to the inside of the windshield as possible.
^ Use a cold knife, a pneumatic knife, or a steel music wire with wooden handles.
^ Leave 6.0 mm (0.25 in) of adhesive on the pinch-weld.
22. Remove the windshield from the body opening.
23. Vacuum the inside and outside of the vehicle including the vents to remove all traces of shattered glass.
24. Remove old adhesive from a reusable windshield.

INSTALLATION PROCEDURE

CAUTION:
^ When replacing stationary windows, Urethane Adhesive Kit GM P/N 12346284, or a urethane adhesive system meeting GM Specification GM365IM, must be used to maintain original installation integrity. Failure to use the urethane adhesive kit will result in poor retention of the window which may allow unrestrained occupants to be ejected from the vehicle resulting in personal injury.
^ When working with any type of glass, use approved safety glasses and gloves to reduce the chance of personal injury.

Windshield Replacement: Short - Installation Procedure:




1. Inspect the acoustic Strip on the dash panel and replace if necessary.
2. Using suction cup holders, position the replacement windshield in the body opening.
3. Carefully inspect the windshield overlap at the body pinch-weld and the retaining flanges all the way around the body opening.

Specifications
Minimum overlap is 5.0 mm (0.19 in).

4. Mark the windshield position at the following locations using tape:
^ The windshield pillars
^ The lower edge
^ The upper edge

Windshield Replacement: Short - Installation Procedure:




5. Install the windshield stops.

Apply two sided tape to the stops. Align the stops to the marks on the plenum.

Windshield Replacement: Short - Installation Procedure:




6. Cut the tape used to mark the location of the windshield to the opening.
7. Remove the windshield from the body opening.
8. Place the windshield on a protected surface.
9. Thoroughly clean the replacement windshield surface to which urethane is to be applied with an alcohol dampened cloth. Allow the alcohol coated surface to air dry.
10. Apply Clear Glass Prep #1 with a dauber to the edge and inner 100 mm (2 in) of the perimeter of the windshield surface and wipe the surface dry with a clean cloth.

Important:
^ Urethane will not bond to the windshield unless Black Primer #2 has been applied to the windshield.
^ DO NOT apply Black Primer #2 to existing urethane.

11. Apply Black Glass Primer #2 with a dauber to the edge and inner 100 mm (2 in) of the windshield surface and allow the surface to dry for approximately 6 to 10 minutes.
12. Cut a notch in the side of the caulking tip 4 mm (3/16 in) high and wide.

Windshield Replacement: Short - Installation Procedure:




13. Apply the windshield adhesive (3) using a caulking gun:

Hold the gun perpendicular to the surface.

Windshield Replacement: Short - Installation Procedure:




14. Apply a smooth continuous 10.0 mm (0.39 in) bead of adhesive directly to the old adhesive in the body opening.

Windshield Replacement: Short - Installation Procedure:




15. Install the windshield:
15.1. Position the windshield in the body opening.
15.2. Hand press around the windshield perimeter. Paddle the urethane as needed.
15.3. Tape the windshield into place.

Windshield Replacement: Short - Installation Procedure:




16. Water test the windshield immediately.
^ Use a soft spray.
^ Use warm or hot water to accelerate the cure of the urethane adhesive.
^ DO NOT direct a hard stream of high pressure water at the fresh urethane adhesive.
^ If leaks are found, apply extra urethane at the leak points using a plastic paddle and then retest.

Windshield Replacement: Short - Installation Procedure:




17. Install the windshield side reveal moldings.

Windshield Replacement: Short - Installation Procedure:




18. Install the windshield weatherstrip.

Windshield Replacement: Short - Installation Procedure:




19. Install the fender attaching screws.

Tighten
Tighten the tender upper flange screws to 1.9 N.m (17 lb in).

Windshield Replacement: Short - Installation Procedure:




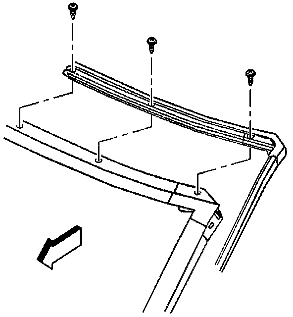
20. Install the air intake plenum screen

Windshield Replacement: Short - Installation Procedure:




21. Install the plenum to hood seal.
22. Install the windshield wiper arms and washer hoses

Windshield Replacement: Short - Installation Procedure:




23. Install the windshield side garnish moldings.

Windshield Replacement: Short - Installation Procedure:




24. Install the inside rearview mirror.

Tighten
Tighten the inside rear view mirror screw to 1.5 N.m (13 lb in).

25. Connect the mirror electrical connector.
26. Connect the antenna lead (coupe).
27. Leave the door windows open.
28. Close the hood.
29. Install the roof panel (coupe) or raise and close the folding top (convertible).
30. Allow the windshield adhesive to cure. Specifications
^ Minimum curing time is 6 hours for GM P/N 12346284 kit adhesive.
^ Optimum curing temperature is 22°C (72°F).
^ DO NOT use compressed air to cure (dry) the urethane adhesive.
^ DO NOT drive the vehicle until the urethane is cured.