Curiosii for ever!
: Car repair manuals for everyone.
Home
>>
Chevrolet
>>
1998
>>
Camaro V8-5.7L VIN G
>>
Repair and Diagnosis
>>
Specifications
>>
Mechanical Specifications
>>
Engine
>>
System Specifications
>>
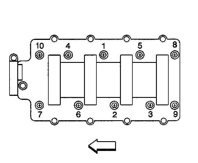
Fastener Tightening Specifications - Intake Manifold
Fastener Tightening Specifications - Intake Manifold
1.
Tighten the
intake manifold
bolts a first pass in sequence to
5 Nm (44 lb in)
.
2.
Tighten the
intake manifold
bolts a final pass in sequence to
10 Nm (89 lb in)
.