Electronic Brake Control Module: Service and Repair
REMOVAL PROCEDURENotice: To prevent equipment damage, never connect or disconnect the wiring harness connection from the EBTCM with the ignition switch in the RUN position.
1. Turn the ignition switch to the OFF position.
2. Pull out lock tab from the EBCM/EBTCM harness connector.
3. Disconnect the EBTCM harness connector (6).
4. Disconnect the pump motor connector (3) at the bottom of the EBCM/EBTCM.
5. Remove the six EBCM/EBTCM to Brake Pressure Modulator Valve (BPMV) screws (2) and discard.
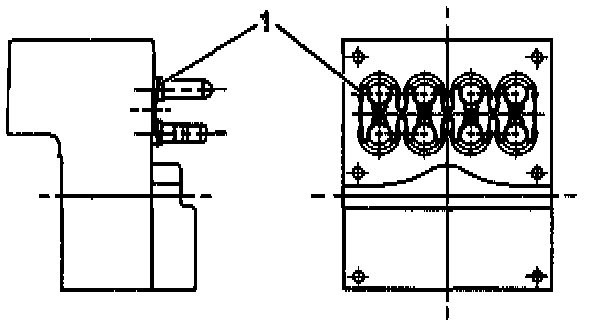
6. Separate the EBCM/EBTCM (1) from the BPMV (5) by gently pulling apart until separated.
Important:
^ Be careful not to damage seal. Do not pry apart using a tool.
^ Care must be taken not to damage the solenoid valves when the EBCM/EBTCM is removed from the BPMV.
7. If equipped with ABS only, remove one wave spring (1) between the EBCM and BPMV and discard.
Important: Note the location and the orientation of the wave spring in order to aid during installation.
8. If equipped with ABS/TCS remove two wave springs (1) between the EBTCM and BPMV and discard.
Important: Note the location and the orientation of the wave springs in order to aid during installation.
INSTALLATION PROCEDURE
Important: Only the new wave spring(s) and screws supplied with the new EBCM/EBTCM should be used.
1. Clean the BPMV gasket surface with alcohol using a clean rag.
2. If equipped with ABS only, install one wave spring (1) between the EBCM and BPMV. Use location and orientation noted during removal.
3. If equipped with ABS/TCS, install two wave springs (1) between the EBTCM and BPMV. Use locations and orientation noted during removal.
4. Install the EBCM/EBTCM (1) to the BPMV (5).
NOTICE: Always use the correct fastener in the proper location. When you replace a fastener, use ONLY the exact part number for that application. The manufacturer will call out those fasteners that require a replacement after removal. The manufacturer will also call out the fasteners that require thread lockers or thread sealant. UNLESS OTHERWISE SPECIFIED, do not use supplemental coatings (paints, greases, or other corrosion inhibitors) on threaded fasteners or fastener joint interfaces. Generally, such coatings adversely affect the fastener torque and joint clamping force, and may damage the fastener. When you install fasteners, use the correct tightening sequence and specifications. Following these instructions can help you avoid damage to parts and systems.
Tighten the top four mounting screws (2) to 2.9 Nm (26 inch lbs.). Tighten screws in an X pattern.
Tighten the bottom two mounting screws (2) to 2.9 Nm (26 inch lbs.).
5. Connect the pump motor connector (3) to the bottom of the EBTCM.
6. Connect the EBCM/EBTCM harness connector. Push in lock tab.
7. Turn the ignition switch to the RUN position, engine off.
8. Perform the Diagnostic System Check