Curiosii for ever!: Car repair manuals for everyone.

Adapter Plate

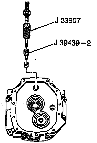
^ Tools Required:
- J 23907 Slide Hammer
- J 39439-2 Bushing Remover
- Or Equivalent





1. Remove the input shaft bearing race and the shim.





2. Remove the countershaft bearing race and the shim.





3. Remove the adapter plate plug.





4. Remove the input shaft seal.

Important: Do not replace-the bushing unless inspection shows bushing damage.





5. Remove the 1ST/2ND and the 3RD/4TH shift shaft bushing. Use the J 23907 with the J 39439-2.
6. Remove the 1ST/2ND and the 3RD/4TH shift shaft seals.





7. Remove the dowel pins.