Curiosii for ever!
: Car repair manuals for everyone.
Home
>>
Chevrolet
>>
1996
>>
Cavalier L4-2.2L VIN 4
>>
Repair and Diagnosis
>>
Locations
>>
Component Locations
>>
A - Z Component List
>>
Miscellaneous Components
>>
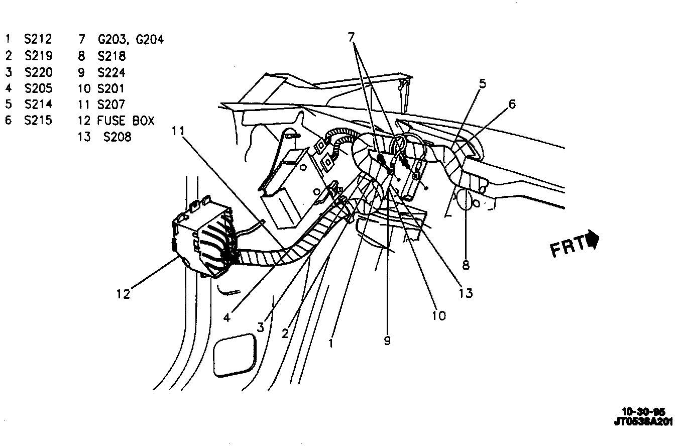
Fuse Block
Fuse Block
LH Upper I/P: