Curiosii for ever!
: Car repair manuals for everyone.
Home
>>
Chevrolet
>>
1990
>>
Lumina L4-151 2.5L
>>
Repair and Diagnosis
>>
Relays and Modules
>>
Relays and Modules - Restraints and Safety Systems
>>
Seat Belt Control Module
>>
Locations
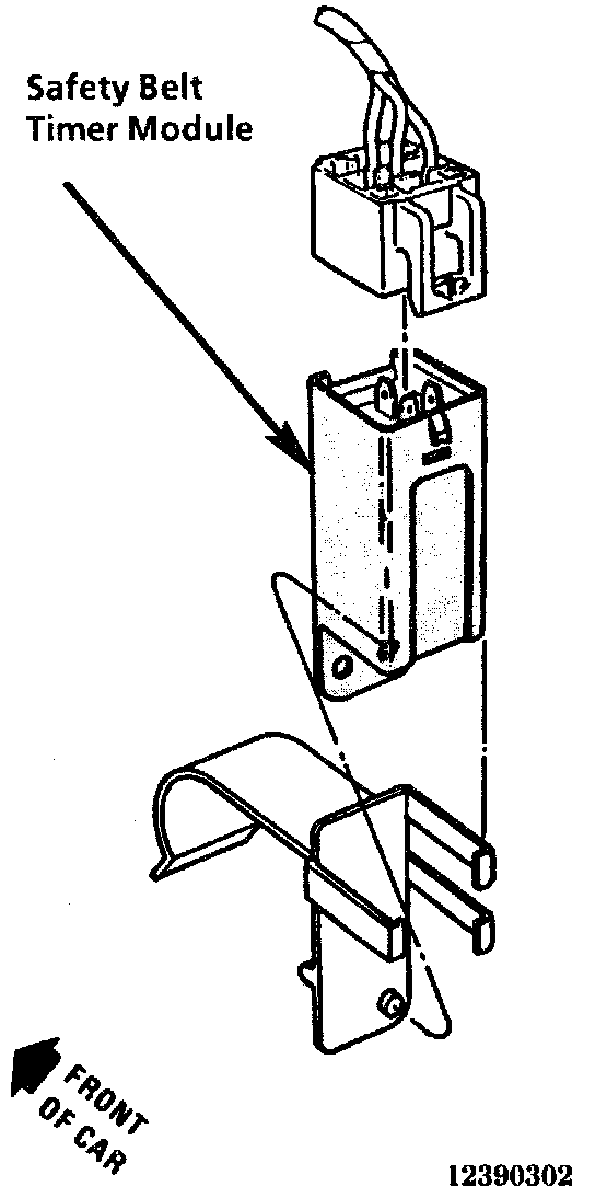
Seat Belt Control Module: Locations
Behind RH Side Of I/P, On Component Center:
Behind RH side of I/P, on component center