Curiosii for ever!
: Car repair manuals for everyone.
Home
>>
Chevrolet
>>
1987
>>
Spectrum-Import L4-91.5 1509cc 1.5L Turbo VIN 9 FI
>>
Repair and Diagnosis
>>
Powertrain Management
>>
Computers and Control Systems
>>
Relays and Modules - Computers and Control Systems
>>
Main Relay (Computer/Fuel System)
>>
Locations
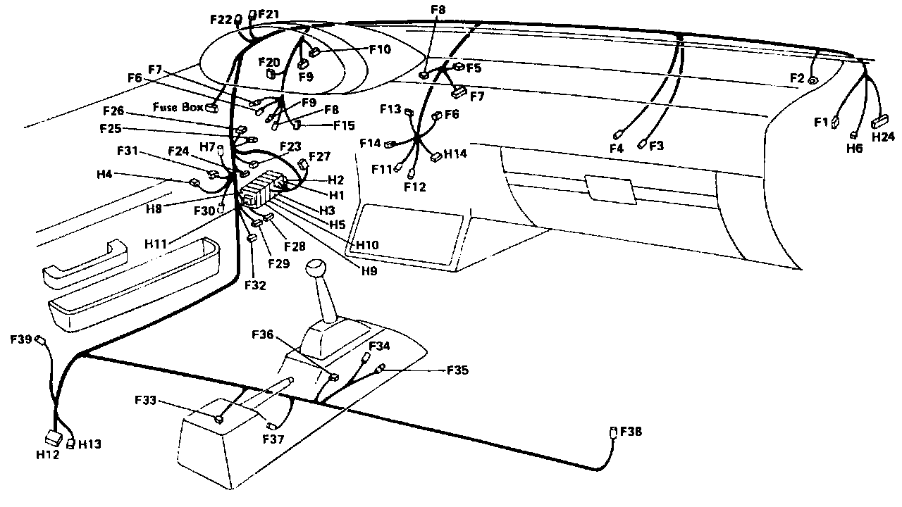
Main Relay (Computer/Fuel System): Locations
I/P Wiring:
Main Relay: Connector number F24 (LH side of I/P)