Curiosii for ever!
: Car repair manuals for everyone.
Home
>>
Chevrolet
>>
1987
>>
Spectrum-Import L4-91.5 1509cc 1.5L Turbo VIN 9 FI
>>
Repair and Diagnosis
>>
Diagrams
>>
Electrical Diagrams
>>
Powertrain Management
>>
Computers and Control Systems
>>
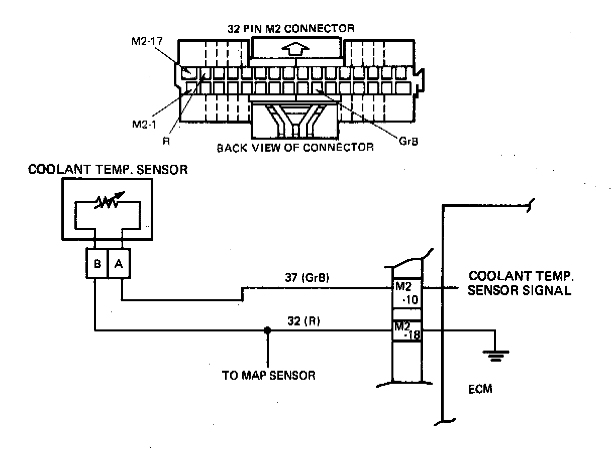
Coolant Temperature Sensor/Switch (For Computer)
Coolant Temperature Sensor/Switch (For Computer)