Curiosii for ever!: Car repair manuals for everyone.

Glow Plug System: Description and Operation

Fig. 1 Controller, dropping resistor & glow plug relay locations:




Fig. 2 Controller wiring connections:





CONTROLLER
The controller in this system has four functions. As engine coolant temperature changes, it controls the glow plug relay. For determining glow plug heating requirements, it monitors differences between sensing resistance and glow plug resistance. It controls rapid preheat circuit to 1652° F of glow plug temperature and, during pre-heat cycle, it controls the glow plug pre-heat indicator lamp (3.5 sec.). Refer to Figs. 1 and 1A for wiring connections.



Fig. 1 Controller, dropping resistor & glow plug relay locations:




Fig. 3 Dropping resistor test connections:





DROPPING RESISTOR
During stabilized heating, this fixed value resistor is used to lower voltage of glow plugs. Check dropping resistor by performing continuity check across the terminals. Replace resistor if no continuity is found. Refer to Figs. 1 and 3.



Fig. 4 Testing glow plug:





GLOW PLUGS
The glow plugs used in this system are the fast warm up type. Check glow plugs by performing continuity test across plug terminals and body. If no continuity is found, heater wire is damaged and glow plug should be replaced. Refer to Fig. 4.



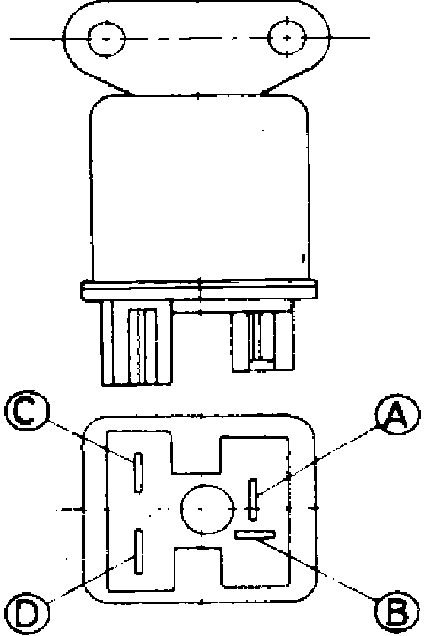
Fig. 5 Glow plug relay test connections:





GLOW PLUG RELAY
This relay is main relay for stabilized heating circuit and rapid pre-heat cycle. Check glow relay by performing continuity test across terminals C and D while battery voltage is applied to terminals A and B. If no continuity is found, replace glow plug relay. Refer to Fig. 5.




GLOW PLUG RELAY 2
During starting, this relay is used to provide stabilized heating. To check this relay, use same procedure as for glow plug relay 1.



Fig. 6 Fusible link test connections:





FUSIBLE LINKS
These two inline fusible links are used to protect the glow plug electrical wiring. To check fusible links, perform continuity check across terminals. If no continuity is found, fusible link should be replaced. Refer to Fig. 6.


Fig. 7 Sensing resistor location:





SENSING RESISTOR
Used in series with the glow plugs, this shunt type sensing resistor causes a small voltage drop which is monitored by the controller, Fig. 7.



Fig. 8 Testing thermo switch:





THERMO SWITCH
This switch is used to provide a ground circuit to controller circuitry when engine temperature is above 122° F. To check thermo switch, perform continuity check across terminal and body while end of thermal switch is submerged in water. Gradually bring temperature of water to 122° F. Replace thermal switch if continuity is not found at this temperature. Refer to Fig. 8.