Curiosii for ever!: Car repair manuals for everyone.

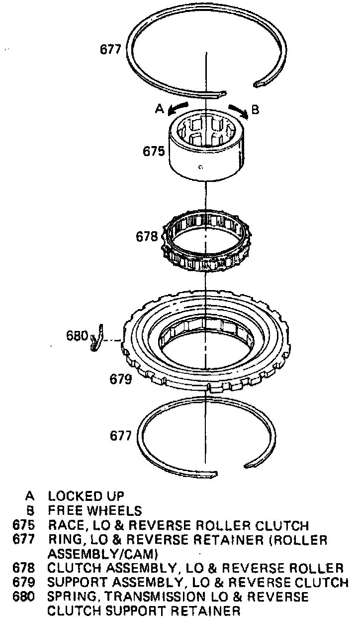
Low/Reverse Support Assembly




1. Remove inner race from support assembly.

2. Remove one retainer ring, then the roller clutch assembly.

3. Inspect inner race for damage and surface wear.

4. Inspect roller clutch assembly for damaged rollers and broken springs.

5. Inspect cam and support assembly for loose cam, surface damage, cracks or damaged lugs.

6. Install roller clutch assembly into cam and support assembly.

7. Install support and roller assembly into case with the hub down.

8. Install inner race into roller assembly. Push down for full engagement. Ensure bottom tangs are flush with carrier hub. Check for proper operation by rotating inner race as shown.







9. Install support retainer spring into case as shown.