Curiosii for ever!: Car repair manuals for everyone.

Windshield Washer Relay





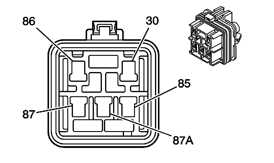
Component Connector End Views

Windshield Washer Pump Relay (Wagon)