Curiosii for ever!: Car repair manuals for everyone.

Side Impact Module - Left





Passenger Compartment/Roof Component Views

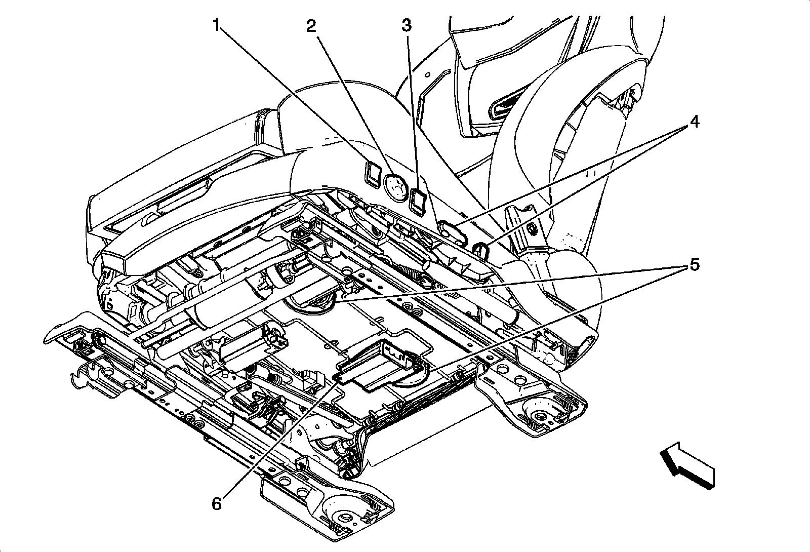
Bottom of Passenger Seat Components - RHD (W2E)





1 - Seatback Bolster Adjustment Control Switch - Passenger

2 - Seat Lumbar Adjuster Switch - Passenger

3 - Seat Cushion Bolster Adjustment Control Switch - Passenger

4 - Seat Adjuster Switch - Passenger (AH8)

5 - Seat Ventilation Heating and Cooling Blower - Passenger (KB6)

6 - Side Impact Module - Left