Curiosii for ever!
: Car repair manuals for everyone.
Home
>>
Cadillac
>>
2011
>>
CTS Sedan RWD V8-6.2L SC
>>
Repair and Diagnosis
>>
Starting and Charging
>>
Starting System
>>
Starter Motor
>>
Service and Repair
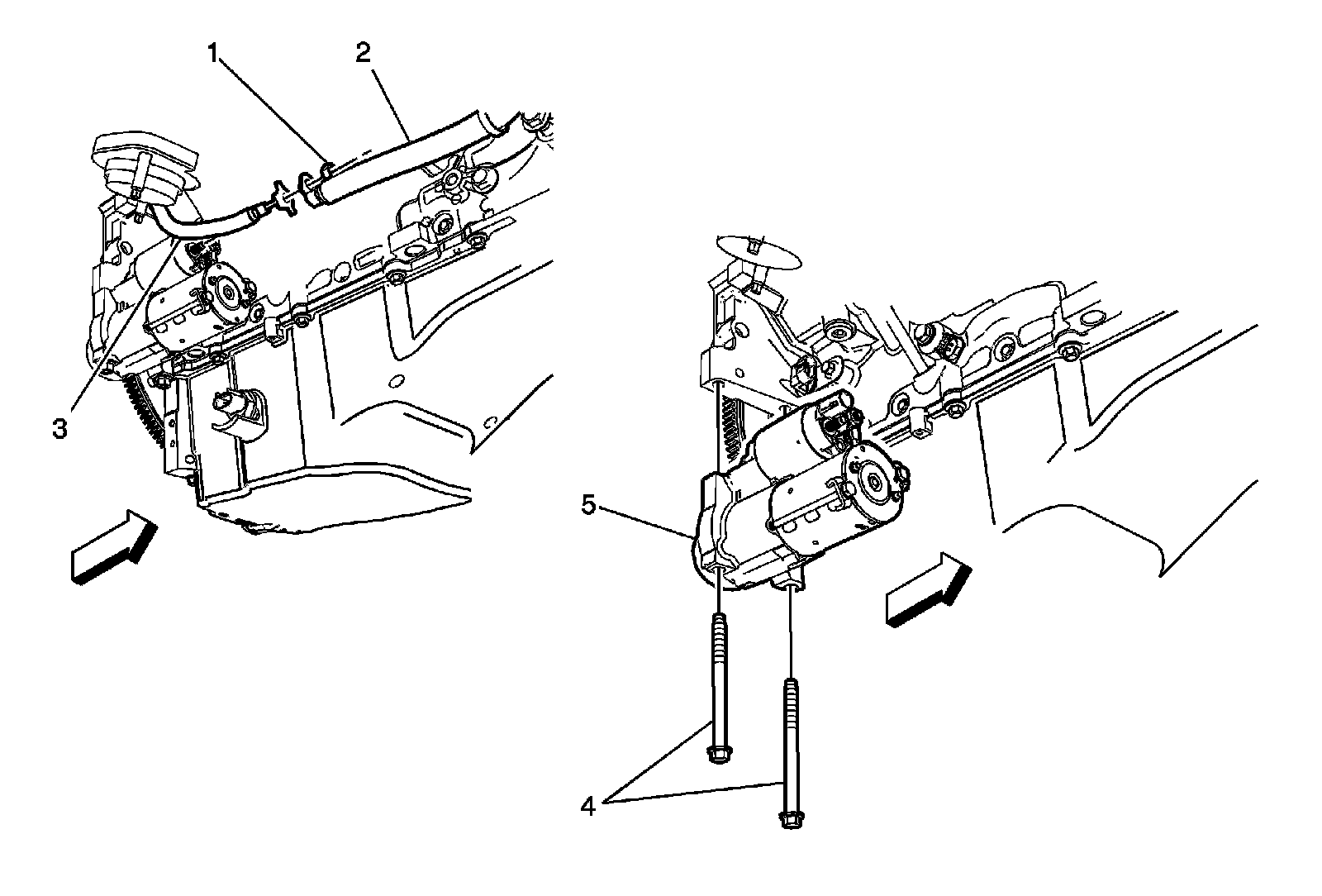
Starter Motor: Service and Repair
Starter Replacement (LSA) (6.2L)