Curiosii for ever!: Car repair manuals for everyone.

Wiper Gear Box: Service and Repair




Windshield Wiper Transmission Replacement

Special Tools
* J-39232 - Wiper Linkage Separator Wiper Linkage Separator
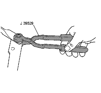
* J-39529 - Wiper Linkage Installer

Removal Procedure




1. Remove the wiper arms (1,4). Refer to Windshield Wiper Arm Replacement (Service and Repair).
2. Remove the air inlet grille panel. Refer to Air Inlet Grille Panel Replacement (Service and Repair).




3. Pull or push on the wiper transmission linkage to rotate the wiper motor crank arm (2) from the park position (1) to the area opposite the park position (3).




4. Disconnect the wiper motor harness connector (4).
5. Remove the 2 screws (3,5) retaining the wiper transmission.
6. Remove the wiper transmission (1) from the vehicle.




7. Remove the drive links from the wiper motor crank arm and the wiper transmission drive shafts with the J-39232 - separator.
8. Remove the transmission links from the module.

Installation Procedure




1. Position the transmission drive links (4) to the pivot arms (3,5).




2. Install the drive links onto the wiper motor crank arm and the wiper transmission drive shafts with the J-39529 - installer.




3. Connect the electrical connector (4) to the motor.
4. Position the transmission (2) to the fender flange pin.

Caution: Refer to Fastener Caution (Fastener Caution).

5. Install the bolts (3,5) and tighten to 10 Nm (89 lb in).




6. Install the air inlet grille panel. Refer to Air Inlet Grille Panel Replacement (Service and Repair).
7. Install the wiper arms (1,4). Refer to Windshield Wiper Arm Replacement (Service and Repair).
8. Operate the wipers and check for proper operation.