Curiosii for ever!: Car repair manuals for everyone.

Disassembled Views




Disassembled Views

Engine Covers and Component Assemblies (1 of 2)




1 - Right Exhaust Manifold Heat Shield Bolt
2 - Right Exhaust Manifold Heat Shield
3 - Right Camshaft Cover Assembly
4 - Ignition Coil Bolt
5 - Ignition Coil
6 - Spark Plug
7 - Fuel Injector Sight Shield Cover
8 - Upper Intake Manifold Cover
9 - Intake Manifold Assembly
10 - Left Camshaft Cover Assembly
11 - Engine Flywheel Bolt
12 - Engine Flywheel
13 - Left Exhaust Manifold Upper Heat Shield
14 - Left Exhaust Manifold Lower Heat Shield
15 - Engine Assembly
16 - Left Exhaust Manifold Heat Shield Bolt
17 - Left Exhaust Manifold Heat Shield
18 - Cylinder Head Exhaust Manifold Bolt
19 - Left Exhaust Manifold
20 - Left Exhaust Manifold Gasket
21 - Oil Pan Assembly
22 - Crankshaft Balancer Bolt
23 - Crankshaft Balancer
24 - Engine Front Cover Assembly
25 - Exhaust Manifold Lower Heat Shield
26 - Exhaust Manifold Lower Heat Shield Bolt
27 - Right Exhaust Manifold Lower Heat Shield
28 - Right Exhaust Manifold Lower Heat Shield Retainers
29 - Right Exhaust Manifold
30 - Right Exhaust Manifold Gasket

Engine Covers and Component Assemblies (2 of 2)




4 - Engine Short Block Assembly
7 - Left Cylinder Head Assembly
8 - Right Cylinder Head Assembly
13 - Oil Pump Assembly
16 - Oil Filter Adapter Assembly
19 - Timing Drive Assembly
302 - Left Cylinder Head Gasket
303 - Right Cylinder Head Gasket
365 - Engine Cooling Thermostat
366 - Engine Cooling Thermostat Gasket
367 - Engine Cooling Thermostat Housing
368 - Engine Cooling Thermostat Housing Bolt
370 - Engine Cooling Thermostat Lower Housing Bolt
371 - Engine Cooling Thermostat Lower Housing Seal
372 - Engine Cooling Thermostat Seal
373 - Engine Cooling Thermostat Lower Housing
377 - Water Outlet Seal
378 - Water Outlet O-ring
379 - Water Outlet Bolt
380 - Water Outlet
395 - Coolant Pipe
396 - Coolant Pipe O-ring
397 - Coolant Pipe Clamp
398 - Coolant Pipe Bracket Bolt - Large
399 - Coolant Pipe Bracket Bolt - Small
399 - Coolant Pipe Bracket Bolt - Small
430 - Oil Level Indicator
431 - Oil Level Indicator Tube
432 - Oil Level Indicator Tube O-ring
433 - Oil Level Indicator Tube Bolt
434 - Oil Level Indicator Handle O-ring
495 - Water Inlet/Outlet Pipe
496 - Water Inlet/Outlet Pipe O-ring
498 - Water Inlet/Outlet Pipe Bolts
499 - Water Inlet/Outlet Pipe Gaskets
720 - Crankshaft Position Sensor
721 - Crankshaft Position Sensor O-ring
722 - Crankshaft Position Sensor Bolt
723 - Knock Sensor
723 - Knock Sensor
724 - Knock Sensor Bolt
724 - Knock Sensor Bolt

Camshaft Cover Assembly




250 - Left Camshaft Cover
251 - Left Camshaft Cover Gasket
252 - Right Camshaft Cover
253 - Right Camshaft Cover Gasket
254 - Camshaft Cover Spark Plug Port Seal
254 - Camshaft Cover Spark Plug Port Seal
255 - Camshaft Cover Bolt
255 - Camshaft Cover Bolt
256 - Camshaft Cover Bolt Insulator
256 - Camshaft Cover Bolt Insulator
257 - Ignition Coil Bolt Thread Insert
258 - Oil Fill Cap
259 - Oil Fill O-ring
259 - Oil Fill O-ring
260 - Left Camshaft Cover PCV Fitting
261 - Right Camshaft Cover PCV Fitting Orifice
262 - Oil Fill Tube
263 - Left Camshaft Cover PCV Fitting O-ring
265 - Left Camshaft Housing Cover Insulator
266 - Right Camshaft Housing Cover Insulator
704 - Ignition Coil
704 - Ignition Coil
705 - Ignition Coil Bolt
705 - Ignition Coil Bolt
719 - Spark Plug
719 - Spark Plug

Camshaft Timing Components




1 - Primary Timing Chain Tensioner Bolt
2 - Left Secondary Timing Chain Shoe Bolt
3 - Right Secondary Timing Chain Tensioner
4 - Right Secondary Timing Chain Tensioner Gasket
5 - Right Secondary Timing Chain Shoe
6 - Secondary Timing Chain
7 - Camshaft Position Actuator Bolt
8 - Exhaust Camshaft Position Actuator
9 - Camshaft Position Actuator Thrust Washer
10 - Intake Camshaft Position Actuator
11 - Right Secondary Timing Chain Guide
12 - Left Camshaft Intermediate Drive Shaft Sprocket
13 - Camshaft Intermediate Drive Shaft Sprocket Bolt
14 - Left Secondary Timing Chain Shoe
15 - Left Secondary Timing Chain Tensioner Gasket
16 - Left Secondary Timing Chain Tensioner
17 - Left Secondary Timing Chain Guide
18 - Lower Primary Timing Chain Guide
19 - Lower Primary Timing Chain Guide Bolt
20 - Crankshaft Sprocket
21 - Primary Timing Chain
22 - Right Camshaft Intermediate Drive Shaft Sprocket
23 - Upper Primary Timing Chain Guide
24 - Primary Timing Chain Tensioner Gasket
25 - Primary Timing Chain Tensioner

Intake Manifold




282 - PCV Hose Bolt
282 - PCV Hose Bolt
283 - Dirty PCV Hose
285 - PCV Hose O-ring Outer/Larger
286 - PCV Hose O-ring Inner/Smaller
290 - PCV Hose Right Bracket
291 - PCV Hose Left Bracket
292 - PCV Hose Clip
503 - Upper Intake Manifold
509 - Upper Intake Manifold Bolt - Long
510 - Upper Intake Manifold Bolt - Short
514 - Intake Manifold Brace
515 - Intake Manifold Brace Small Bolt
516 - Intake Manifold Brace Large Bolt
524 - Intake Manifold Cover
525 - Intake Manifold Cover Gasket
526 - Intake Manifold Cover Lower Gasket
527 - Intake Manifold Cover Bolt
532 - Fuel Rail Bolt
560 - Fuel Rail
561 - Fuel Injector
562 - Fuel Injector Retainer
563 - Fuel Injector O-ring Seal
564 - Fuel Injector Teflon Seal
565 - Fuel Pressure Sensor
566 - Fuel Injector Spacer
567 - Fuel Injector Isolator Cup
568 - Fuel Injector Isolator Cup Retaining Ring
594 - Fuel Injector Sight Shield Cover Ball Stud
700 - Fuel Injector Wiring Harness
701 - Throttle Body
702 - Throttle Body Bolt
703 - Throttle Body Gasket
744 - EVAP Purge Solenoid
746 - EVAP Purge Solenoid Bolt
747 - EVAP Purge Solenoid Tube
752 - EVAP Purge Solenoid Bracket
755 - Intake Manifold Tuning Valve
756 - Intake Manifold Tuning Valve O-ring
757 - Intake Manifold Tuning Valve Bolt
765 - Fuel Injector Wiring Harness Bracket
766 - Fuel Injector Wiring Harness Bracket Bolt
776 - BARO Sensor Bolt
777 - BARO Sensor
778 - BARO Sensor O-ring

Fuel Rail




1 - Fuel Pressure Sensor
2 - Fuel Rail Bolt
3 - Fuel Injector Retainer
4 - Fuel Injector O-ring Seal
5 - Fuel Injector Spacer
6 - Fuel Injector
7 - Fuel Injector Teflon Seal
8 - Fuel Injector Isolator Cup
9 - Fuel Injector Isolator Cup Retaining Ring
10 - Fuel Rail

Cylinder Head Assemblies




300 - Left Cylinder Head
301 - Right Cylinder Head
302 - Left Cylinder Head Gasket
303 - Right Cylinder Head Gasket
310 - Cylinder Head Bolt
311 - Cylinder Head Front Bolt
313 - Cylinder Head Coolant Hole Threaded Plug
318 - Spark Plug Sleeve
319 - Cylinder Head Oil Gallery Expansion Plug - 14 mm
319 - Cylinder Head Oil Gallery Expansion Plug - 14 mm
320 - Exhaust Valve
321 - Intake Valve
322 - Valve Rocker Arm Assembly
323 - Hydraulic Valve Lash Adjuster Assembly
324 - Valve Stem Oil Seal
325 - Valve Spring
326 - Valve Spring Cap
327 - Valve Stem Key
328 - Cylinder Head Camshaft Front Thrust Bearing Cap
328 - Cylinder Head Camshaft Front Thrust Bearing Cap
329 - Camshaft Oil Seal Ring
330 - Left Exhaust Camshaft
331 - Left Intake Camshaft
332 - Right Intake Camshaft
333 - Right Exhaust Camshaft
336 - Cylinder Head Camshaft Cap - Intermediate
337 - Cylinder Head Camshaft Cap Bolt
339 - Cylinder Head Oil Gallery Check Valve
711 - Engine Coolant Temperature Sensor

Engine Front Cover




132 - Engine Front Cover Locating Pin
348 - Engine Front Cover Bolt - Long
350 - Engine Front Cover
351 - Engine Front Cover Gasket
352 - Engine Front Cover Bolt
353 - Engine Front Cover Seal
354 - Engine Front Cover Deadener
360 - Water Pump Assembly
361 - Water Pump Bolt
362 - Water Pump Gasket
363 - Water Pump Pulley
364 - Water Pump Pulley Bolt
390 - Crankshaft Balancer
391 - Crankshaft Balancer Bolt
725 - Camshaft Position Sensor
726 - Camshaft Position Sensor O-ring
727 - Camshaft Position Sensor Bolt
732 - Camshaft Position Actuator Solenoid Valve
733 - Camshaft Position Actuator Solenoid Valve Bolt
734 - Camshaft Position Actuator Solenoid Valve Seal

Oil Pump - Second Design




151 - Lower Primary Timing Chain Guide
154 - Lower Primary Timing Chain Guide Bolt
463 - Oil Pump Housing
464 - Oil Pump Cover
465 - Oil Pump Driven Gear
466 - Oil Pump Drive Gear
468 - Oil Pump Cover Bolt
470 - Oil Pressure Relief Valve Bore Plug
471 - Oil Pressure Relief Valve Spring
472 - Oil Pressure Relief Valve
474 - Oil Pressure Relief Valve Bore Plug Retainer Clip
475 - Oil Pump Bolt

Engine Block Assembly




15 - Piston and Connecting Rod Assembly
100 - Engine Block
110 - Crankshaft Bearing Cap
111 - Crankshaft Bearing Thrust Cap
114 - Crankshaft Bearing Cap Inboard Bolt
115 - Crankshaft Bearing Cap Outboard Bolt
116 - Crankshaft Bearing Cap Side Bolt - Short
117 - Crankshaft Bearing Cap Side Bolt - Long
119 - Engine Block Oil Gallery Expansion Plug - 10 mm
120 - Crankshaft
121 - Crankshaft Sprocket Locating Pin
122 - Crankshaft Upper Bearing
123 - Crankshaft Lower Bearing
124 - Crankshaft Upper Thrust Bearing #3
126 - Engine Block Oil Gallery Expansion Plug - 14 mm
127 - Engine Block Oil Gallery Threaded Plug - 14 mm
127 - Engine Block Oil Gallery Threaded Plug - 14 mm
128 - Engine Block Coolant Drain Threaded Plug - 14 mm
129 - Engine Block Oil Gallery Threaded Plug - 20 mm
130 - Engine Block Core Coolant Expansion Plug - 34.3 mm
131 - Transaxle Locating Pin
133 - Crankshaft Rear Oil Seal Housing Assembly
134 - Crankshaft Rear Oil Seal Housing Assembly Bolt
135 - Oil Pan Locating Pin
137 - Cylinder Head Locating Pin
490 - Piston Oil Nozzle
491 - Piston Oil Nozzle Bolt

Piston, Rings, Bearing and Connecting Rod




200 - Connecting Rod
201 - Connecting Rod Bolt
202 - Connecting Rod Bushing
203 - Connecting Rod Bearing
210 - Piston
211 - Piston Pin
212 - Piston Pin Retainer
212 - Piston Pin Retainer
213 - Piston Upper Compression Ring
214 - Piston Lower Compression Ring
215 - Piston Oil Control Rail Ring
216 - Piston Oil Control Ring Spacer

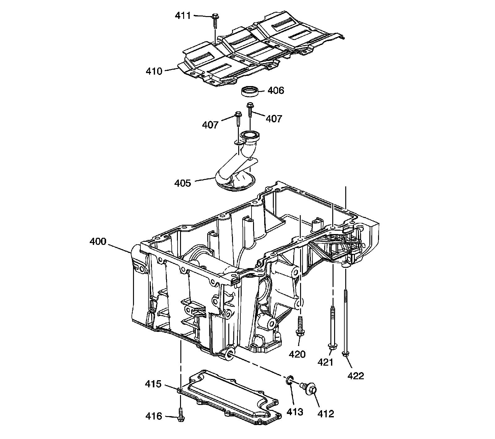
Oil Pan Assembly




400 - Oil Pan
405 - Oil Pump Suction Pipe
406 - Oil Pump Suction Pipe Gasket
407 - Oil Pump Suction Pipe Bolt
407 - Oil Pump Suction Pipe Bolt
410 - Oil Pan Baffle Scraper
411 - Oil Pan Baffle Scraper Bolt
412 - Oil Pan Drain Plug
413 - Oil Pan Drain Plug O-ring
415 - Oil Pan Skid Plate
416 - Oil Pan Skid Plate Bolt
420 - Oil Pan Bolt - Short
421 - Oil Pan Bolt - Medium
422 - Oil Pan Bolt - Long

Oil Filter Adapter




440 - Oil Filter Adapter
441 - Oil Filter Adapter Gasket
442 - Oil Filter Adapter Bolt
443 - Oil Filter Adapter Bolt - Long
446 - Oil Filter Bypass Valve
447 - Oil Filter Adapter Bolt - Large
448 - Oil Filter Adapter Bolt Sleeve
449 - Oil Filter
450 - Oil Filter Cap
451 - Oil Filter Cap O-ring
456 - Oil Filter Bypass Valve Body
458 - Drain Valve Assembly
459 - Drain Valve Assembly Seal
728 - Engine Oil Pressure Sensor
729 - Engine Oil Pressure Sensor O-ring