Curiosii for ever!: Car repair manuals for everyone.

Front of Vehicle/Engine Compartment Component Views




Front of Vehicle/Engine Compartment Component Views

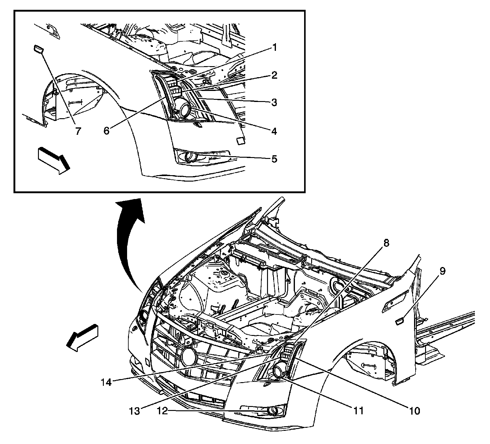
Front Fascia Components (except V-Series)




1 - Turn Signal Lamp - Right Front
2 - Daytime Running Lamp (DRL) - Right (T4F)
3 - Side Marker Lamp - Right Front (without T90)
4 - Headlamp - Right High/Low Beam
5 - Fog Lamp - Right Front (T96)
6 - Park Lamp - Right Front
7 - Turn Signal Repeater Lamp - Right Front (T90)
8 - Turn Signal Lamp - Left Front
9 - Turn Signal Repeater Lamp - Left Front (T90)
10 - Park Lamp - Left Front
11 - Headlamp - Left High/Low Beam
12 - Fog Lamp - Left Front (T96)
13 - Daytime Running Lamp (DRL) - Left (T4F)
14 - Side Marker Lamp - Left Front (without T90)

Front Fascia Components (V-Series)




1 - Turn Signal Repeater Lamp - Right Front (T90)
2 - Turn Signal Lamp - Right Front
3 - Daytime Running Lamp (DRL) - Right (T4F)
4 - Headlamp - Right High/Low Beam
5 - Side Marker Lamp - Right Front
6 - Fog Lamp - Right Front (T96)
7 - Park Lamp - Right Front
8 - Side Marker Lamp - Left Front
9 - Turn Signal Lamp - Left Front
10 - Park Lamp - Left Front
11 - Turn Signal Repeater Lamp - Left Front (T90)
12 - Daytime Running Lamp (DRL) - Left (T4F)
13 - Fog Lamp - Left Front (T96)
14 - Headlamp - Left High/Low Beam

Headlamp Components (TR7 or T4F)




1 - Headlamp Ballast - Right (T4F)
2 - Headlamp Motor - Right (TR7 with T4F)
3 - Headlamp Leveling Actuator - Right (TR7)
4 - Headlamp Control Module (T4F)
5 - Headlamp Motor - Left (TR7 with T4F)
6 - Headlamp Ballast - Left (T4F)
7 - Headlamp Leveling Actuator - Left (TR7)
8 - Headlamp Leveling Sensor - Front (TR7 without F55) or Suspension Position Sensor - Right Front (F55)

Engine Compartment Components (LF1 or LLT)




1 - Brake Booster Vacuum Sensor
2 - Brake Fluid Level Switch
3 - Mass Air Flow (MAF)/Intake Air Temperature (IAT) Sensor
4 - Fuse Block - Underhood
5 - Engine Control Module (ECM)
6 - Electronic Brake Control Module (EBCM)

Engine Compartment Components - Front




1 - Inflatable Restraint Front End Sensor - Left
2 - Inflatable Restraint Front End Sensor - Right
3 - Engine Cooling Fan - Right (LSA)
4 - Engine Cooling Fan - Left (LSA)
5 - A/C Refrigerant Pressure Sensor
6 - Horn Assembly

Engine Compartment Components - Right Side




1 - Windshield Washer Fluid Level Switch
2 - Headlamp Washer Fluid Pump (CE4)
3 - Windshield Washer Fluid Pump
4 - Fuse Block - Underhood
5 - Air Quality Sensor (K14)
6 - Engine Control Module (ECM) (LSA)

Engine Compartment Components - Left Side (V-Series)




1 - Windshield Wiper Motor (Left Hand Drive)
2 - Brake Fluid Level Switch
3 - Mass Air Flow (MAF)/Intake Air Temperature (IAT) Sensor
4 - A/C Refrigerant Pressure Sensor
5 - A/C Compressor Clutch (LLT or LF1)