Curiosii for ever!: Car repair manuals for everyone.

Vehicle Lifting: Service and Repair




Lifting and Jacking the Vehicle

Warning

To help avoid personal injury, always use jack stands when you are working on or under any vehicle that is supported only by a jack.

Danger: To avoid any vehicle damage, serious personal injury or death when major components are removed from the vehicle and the vehicle is supported by a hoist, support the vehicle with jack stands at the opposite end from which the components are being removed and strap the vehicle to the hoist.


Before you begin any lifting procedure, be sure the vehicle is on a clean, hard, level surface. Be sure all the lifting equipment meets weight standards and is in good working order. Be sure all the vehicle loads are equally distributed and secure. If you are only supporting the vehicle at the frame side rails, make sure the lifting equipment does not put too much stress on or weaken the frame side rails.

If you use any other lifting methods than those called out, take special care not to damage the fuel tanks, the exhaust system or the underbody.

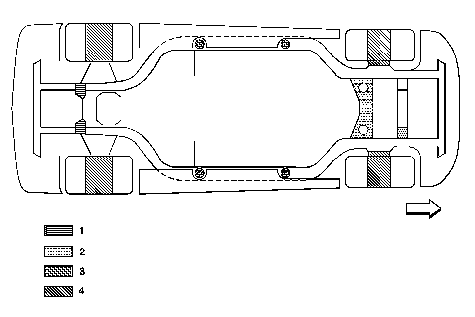
Vehicle Lifting and Jacking Locations




1 - Preferred Vehicle Jacking Locations
2 - Optional Vehicle Jacking Locations
3 - Frame Contact Hoist Locations, Optional Vehicle Jacking Locations
4 - Suspension Contact Hoist Locations

Vehicle Lifting - Suspension Contact Hoist

Front Lift

Position the suspension contact front lift under the outer edge of the front suspension lower control arms.

Rear Lift

Position the suspension contact rear lift under the rear tire and wheel assemblies.

Vehicle Jacking

When you are lifting a vehicle with a vehicle jack or a service jack, block the wheels at the opposite end from which you are lifting. use jack stands to provide additional support.