Curiosii for ever!: Car repair manuals for everyone.

Front Fender: Service and Repair




Front Fender Replacement

Removal Procedure

1. Open the hood.
2. Remove the wheelhouse panel. Refer to Front Wheelhouse Liner Replacement (Service and Repair).
3. Remove the headlamp. Refer to Headlamp Replacement (Service and Repair).
4. Loosen the front bumper fascia. Refer to Front Bumper Fascia Replacement (Front Bumper Fascia Replacement).
5. Remove the fender to hood seal. Refer to Seal Replacement - Fender to Hood (Service and Repair).
6. Remove the wheelhouse filler panel. Refer to Front Wheelhouse Rear Liner Replacement (Service and Repair).




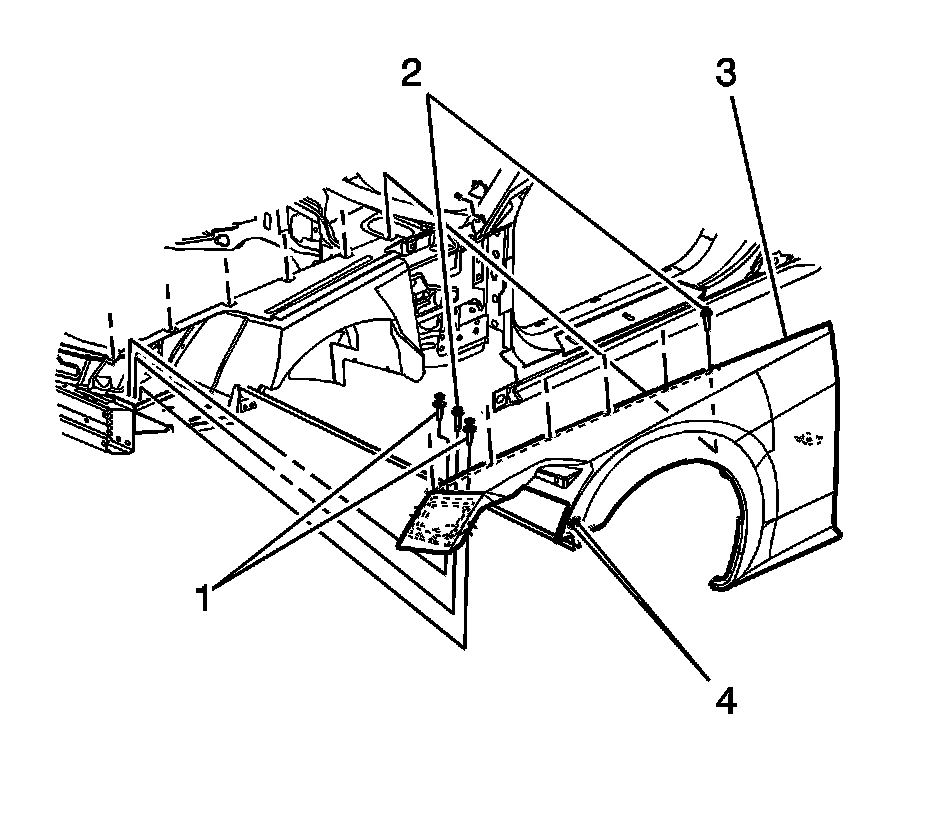
7. Remove the screws (2) securing the lower rear portion of the front fender (1) to the vehicle.




8. Remove the screws (2) securing the rear portion of the fender (1) to the vehicle.




9. Remove the push-in fasteners (1) securing the front portion of the fender (3) to the vehicle.
10. Remove the bolts (4) securing the front portion of the fender (3) to the vehicle.
11. Remove the screws (2) securing the fender (3) to the vehicle.
12. Remove the front fender (3) from the vehicle.

Installation Procedure

1. Position the fender to the vehicle.





Caution: Refer to Fastener Caution (Fastener Caution).

2. Install the screws (2) securing the fender (3) to the vehicle and tighten to 9 Nm (80 lb in).
3. Install the bolts (4) securing the front portion of the fender (3) to the vehicle and tighten to 9 Nm (80 lb in).
4. Install the push-in fasteners (1) securing the front portion of the fender (3) to the vehicle.




5. Install the screws (2) securing the rear portion of the fender (1) to the vehicle and tighten to 9 Nm (80 lb in).




6. Install the screws (2) securing the lower rear portion of the front fender (1) to the vehicle and tighten to 9 Nm (80 lb in).
7. Install the front bumper fascia. Refer to Front Bumper Fascia Replacement (Front Bumper Fascia Replacement).
8. Install the headlamp. Refer to Headlamp Replacement (Service and Repair).
9. Install the wheelhouse panel. Refer to Front Wheelhouse Liner Replacement (Service and Repair).
10. Install the wheelhouse filler panel. Refer to Front Wheelhouse Rear Liner Replacement (Service and Repair).
11. Install the fender to hood seal. Refer to Seal Replacement - Fender to Hood (Service and Repair).