Curiosii for ever!
: Car repair manuals for everyone.
Home
>>
Cadillac
>>
2009
>>
STS RWD V6-3.6L
>>
Repair and Diagnosis
>>
Diagrams
>>
Harness
>>
Headliner Views
Headliner Views
Harness Routing Views
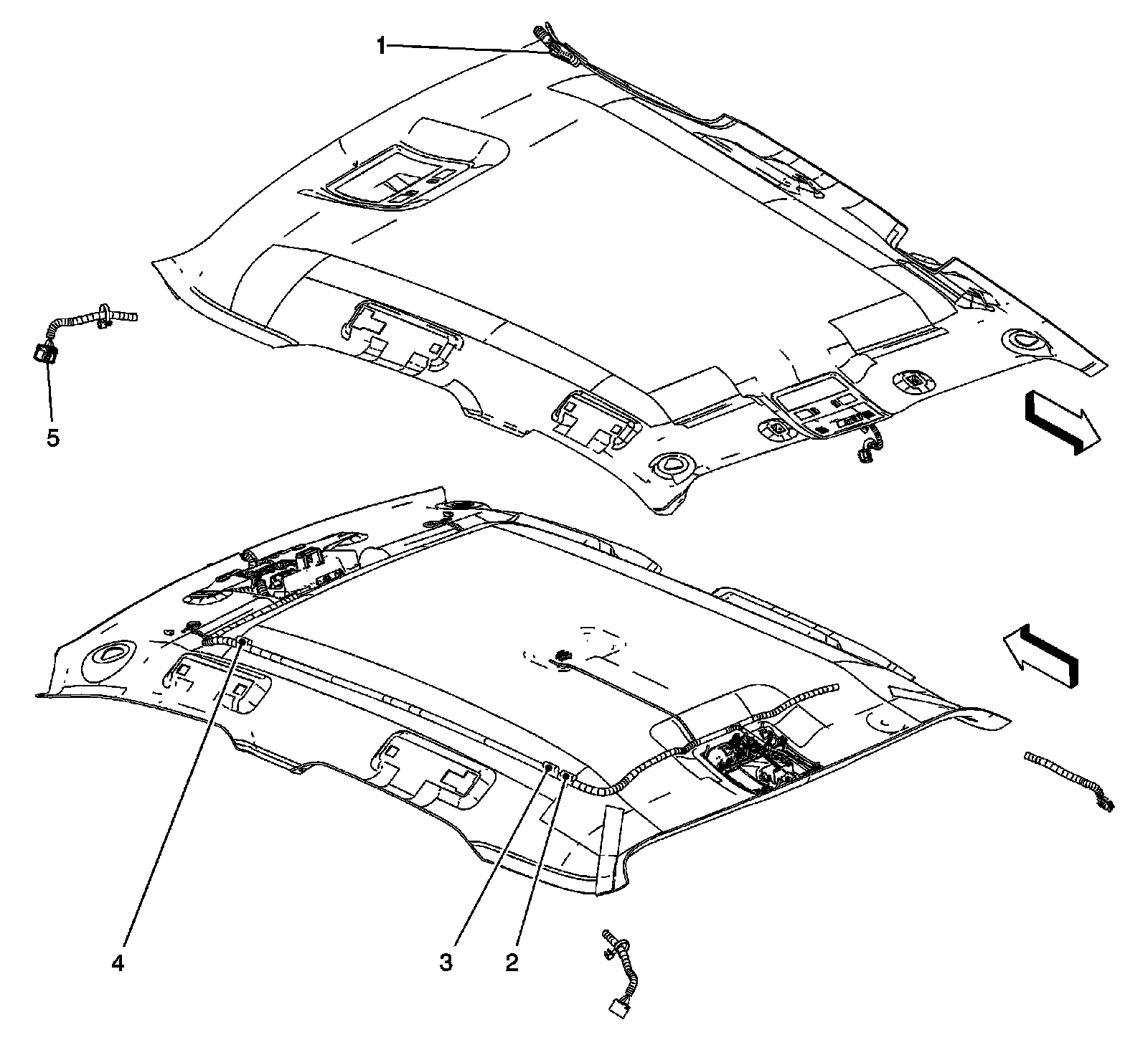
Headliner Harness (without CF5)
1
- X305
2
- J309
3
- J308
4
- J310
5
- X308
Headliner Harness (CF5)
1
- X308
2
- X305
3
- X309
4
- J308
5
- X309
6
- J310