Curiosii for ever!
: Car repair manuals for everyone.
Home
>>
Cadillac
>>
2009
>>
STS AWD V8-4.6L
>>
Repair and Diagnosis
>>
Body and Frame
>>
Seats
>>
Service and Repair
>>
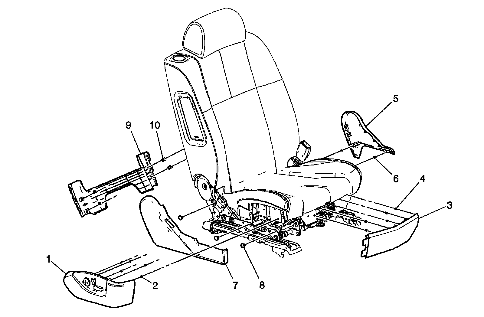
Front Seat Riser Finish Cover Replacement
Front Seat Riser Finish Cover Replacement
Front Seat Riser Finish Cover Replacement