Curiosii for ever!: Car repair manuals for everyone.

Steering Wheel Position Sensor Centering




Steering Wheel Position Sensor Centering

Removal Procedure

Caution: With wheels of the vehicle facing straight ahead, secure the steering wheel utilizing steering column anti-rotation pin, steering column lock, or a strap to prevent rotation. Locking of the steering column will prevent damage and a possible malfunction of the SIR system. The steering wheel must be secured in position before disconnecting the following components:

* The steering column
* The intermediate shaft(s)
* The steering gear

After disconnecting these components, do not rotate the steering wheel or move the front tires and wheels. Failure to follow this procedure may cause the SIR coil assembly to become un-centered and cause possible damage to the SIR coil. If you think the SIR coil has became un-centered, refer to your specific SIR coil's centering procedure to re-center SIR Coil.

1. With the wheels of the vehicle in the straight ahead position, secure the steering wheel or the steering column with a steering column anti-rotation pin, a steering column lock, or a strap, as applicable, in order to prevent rotation.

Note: Identify the type of steering wheel position sensor from the illustrations shown BEFORE removing the sensor from the steering column. Once you have identified the steering wheel position sensor, follow the instructions listed in the removal procedure.

2. Verify the type of steering wheel position sensor.




3. From the technicians point of view of the FRONT of the sensor (1), the connector will be on the right.

Note: If you are reusing the existing sensor, you do not have to align the sensor before removal. Centering is not necessary in order to install the old sensor.

4. Remove the connector from the sensor.
5. Remove the sensor from the adapter and bearing assembly.
6. To install the sensor, proceed to step 1 in the installation procedure.




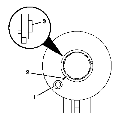
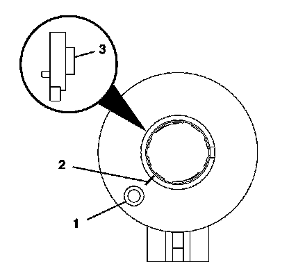
7. From the technicians point of view, the FRONT of the sensor will have:

* A foam ring (2)
* A pin hole (1) for the centering the pin-Note the location of the pin hole.
* A flush rotor flange cuff (4)

Note: If you are reusing the existing sensor, make an alignment mark (3) on the rotor flange cuff before removing the sensor. Failure to do so will cause misalignment of the old sensor. Replace a misaligned sensor with a new sensor.

8. Make an alignment mark on the flush rotor flange cuff.
9. Remove the connector from the sensor.
10. Remove the sensor from the adapter and bearing assembly.
11. To install the sensor, proceed to step 4 in the installation procedure.




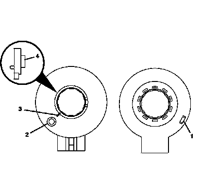
12. From the technicians point of view, the FRONT of the sensor will have:

* A raised rotor flange cuff (3)
* An alignment mark (2) on the rotor flange cuff for installation
* A pin hole (1) for the centering pin-Note the location of the pin hole.

13. Remove the connector from the sensor.
14. Remove the sensor from the adapter and bearing assembly.
15. To install the sensor, proceed to step 8 in the installation procedure.




16. From the technicians point of view, the FRONT of the sensor will have:

* A raised rotor flange cuff (3)
* An alignment mark (2) on the rotor flange cuff for installation
* A pin hole (1) for the centering pin-Note location of the pin hole.
* A sensor clip in FRONT of the sensor

17. Remove the connector from the sensor.
18. Remove the sensor clip from the sensor.
19. Remove the sensor from the adapter and bearing assembly.
20. To install the sensor, proceed to step 12 in the installation procedure.




21. From the technicians point of view, the FRONT of the sensor will have:

* A flush rotor flange cuff (3)
* A pin hole (1) for the centering pin-Note the location of the pin hole.
* An alignment mark (2) on the flush rotor flange cuff for installation

22. Remove the connector from the sensor.
23. Remove the sensor from the adapter and bearing assembly.
24. To install the sensor, proceed to step 16 in the installation procedure.




25. From the technicians point of view, the FRONT of the sensor will have:

* A flush rotor flange cuff (4)
* A pin hole (2) for the centering pin-Note the location of the pin hole.
* An alignment mark (3) on the flush rotor flange cuff for installation
* A foam ring (1)

26. Remove the connector from the sensor.
27. Remove the sensor from the adapter and bearing assembly.
28. To install the sensor, proceed to step 20 in the installation procedure.

Installation Procedure





Note: If you are reusing the existing sensor, centering of the old sensor is not necessary.

If you are installing a new sensor, the new sensor will come with a pin. Do not remove the pin until the sensor is seated.

1. From the technicians point of view of the FRONT of the sensor (1), the connector will be on your right.
From the technicians point of view of the BACK of the sensor (2), the connector will be on your left.
2. Looking at the FRONT of the sensor, align the sensor with the steering shaft and install the sensor to the adapter and bearing assembly.
3. Install the connector to the sensor.




4. From the technicians point of view, the FRONT of the sensor will have:

* A foam ring (4)
* A pin hole (7) for the centering pin-Note the location of the pin hole.
* A flush rotor flange cuff (6)
* An alignment mark (5) for installation

5. From the technicians point of view, the BACK of the sensor will have:

* Double D flats (1)
* A foam ring (3)
* An alignment tab (2) for installing the sensor to the adapter and bearing assembly
* A view of the inside of the connector

Note: If you are reusing the existing sensor, align the marks on the flush rotor flange cuff before installation. The alignment mark must stay aligned until the sensor is seated into the adapter and bearing assembly.

If you are installing a new sensor, the new sensor will come with a pin. Do not remove the pin until the sensor is seated. If the pin is not installed in the sensor, order a new sensor.

6. Looking at the FRONT of the sensor, align the sensor with the steering shaft and install the sensor to the adapter and bearing assembly.
7. Install the connector to the sensor.




8. From the technicians point of view, the FRONT of the sensor will have:

* A pin hole (3) for the centering pin-Note location of the pin hole.
* A raised rotor flange cuff (5)
* An alignment mark (4) for installation

9. From the technicians point of view, the BACK of the sensor will have:

* Double D flats (1)
* An alignment tab (2) for installing the sensor to the adapter and bearing assembly

Note: If you are reusing the existing sensor, align the marks on the raised rotor flange cuff before installation. The alignment mark must stay aligned until the sensor is seated into the adapter and bearing assembly.

If you are installing a new sensor, the new sensor will come with a pin. Do not remove the pin until the sensor is seated. If the pin is not installed in the sensor, order a new sensor.

10. Looking at the FRONT of the sensor, align the sensor with the steering shaft and install the sensor to the adapter and bearing assembly.
11. Install the connector to the sensor.




12. From the technicians point of view, the FRONT of the sensor will have:

* A pin hole (2) for the centering pin-Note the location of the pin hole.
* A raised rotor flange cuff (4)
* An alignment mark (3) for installation

13. From the technicians point of view, the BACK of the sensor will have an alignment tab (1) for installation. This sensor does not have double D flats.

Note: If you are reusing the existing sensor, align the marks on the raised rotor flange cuff before installation. The alignment mark must stay aligned until the sensor is seated into the adapter and bearing assembly.

If you are installing a new sensor, the new sensor will come with a pin. Do not remove the pin until the sensor is seated. If the pin is not installed in the sensor, order a new sensor.

14. Looking at the FRONT of the sensor, align the sensor with the steering shaft and install the sensor to the adapter and bearing assembly.
15. Install the connector to the sensor.




16. From the technicians point of view, the FRONT of the sensor will have:

* A pin hole (2) for the centering pin-Note the location of the pin hole.
* A flush rotor flange cuff (4)
* An alignment mark (3) for installation

17. From the technicians point of view, the BACK of the sensor will have an alignment tab (1) for installation. This sensor does not have double D flats.

Note: If you are reusing the existing sensor, align the marks on the flush rotor flange cuff before installation. The alignment mark must stay aligned until the sensor is seated into the adapter and bearing assembly.

If you are installing a new sensor, the new sensor will come with a pin. Do not remove the pin until the sensor is seated. If the pin is not installed in the sensor, order a new sensor.

18. Looking at the FRONT of the sensor, align the sensor with the steering shaft and install the sensor to the adapter and bearing assembly.
19. Install the connector to the sensor.




20. From the technicians point of view, the FRONT of the sensor will have:

* A pin hole (3) for the centering pin-Note location of the pin hole.
* A flush rotor flange cuff (5)
* An alignment mark (4) for installation
* A foam ring (6)

21. From the technicians point of view, the BACK of the sensor will have:

* Double D flats (1)
* An alignment tab (2) for installing the sensor to the adapter and bearing assembly

Note: If you are reusing the existing sensor, align the marks on the flush rotor flange cuff before installation. The alignment mark must stay aligned until the sensor is seated into the adapter and bearing assembly.

If you are installing a new sensor, the new sensor will come with a pin. Do not remove the pin until the sensor is seated. If the pin is not installed in the sensor, order a new sensor.

22. Looking at the FRONT of the sensor, align the sensor with the steering shaft and install the sensor to the adapter and bearing assembly.
23. Install the connector to the sensor.